
Gebogenes Display und mehr - so könnte das iPhone 7 aussehen (Bild: iPhone Hub) 
Solarzellen - vielleicht auch bald im iPhone 7 (Bild: Apple) 
Seitenränder als Touchscreen - das Samsung Galaxy Edge+ nennt sie bereits sein Eigen (Bild: Mesut G.) 
Gebogenes Display - LG hat es bereits in die Tat umgesetzt. Folgt nun auch Apple? (Bild: LG) 
Die Konkurrenz bietet bereits wasser- und staubgeschützte Smartphones - bei Apple wäre es langsam auch an der Zeit (Bild: Cat Phone) 
Apple TV als Spielekonsole und das iPhone 7 als Controller - ein bestimmt unschlagbares Duo (Bild: Apple / US-Patentamt)
Apple Patente werde häufig, sogar sehr häufig und vielleicht sogar häufiger eingereicht als es bei mancher Konkurrenz der Fall ist. Auch wenn wir nicht wissen, welche Apple davon umsetzt und welche auf dem Reißbrett versauern, sind manche wahrscheinlicher als andere. Wir haben fünf der maßgeblichsten und wahrscheinlichsten Patente herausgesucht, die wir in künftigen iPhone-Modellen vermuten.
iPhone 7: Laden über Solarzellen
Das von Apple eingereichte Patent sieht vor, Solarzellen im iOS-Gerät zu verbauen, über die das Smartphone künftig seine Energie beziehen könnte. Eine nicht ganz abwegige Erfindung, bedenkt man, dass Apple sehr auf Umweltschutz und Nachhaltigkeit bedacht ist.

Gebogenes Display und mehr - so könnte das iPhone 7 aussehen (Bild: iPhone Hub) 
Solarzellen - vielleicht auch bald im iPhone 7 (Bild: Apple) 
Seitenränder als Touchscreen - das Samsung Galaxy Edge+ nennt sie bereits sein Eigen (Bild: Mesut G.) 
Gebogenes Display - LG hat es bereits in die Tat umgesetzt. Folgt nun auch Apple? (Bild: LG) 
Die Konkurrenz bietet bereits wasser- und staubgeschützte Smartphones - bei Apple wäre es langsam auch an der Zeit (Bild: Cat Phone) 
Apple TV als Spielekonsole und das iPhone 7 als Controller - ein bestimmt unschlagbares Duo (Bild: Apple / US-Patentamt)
Für den Betrieb iCloud-Server hat Apple bereits eine Energieanlage aus Solarzellen aufstellen lassen. Vielleicht kommt so was auch im kleineren Stil. Erfreulich wäre es, da man sich somit von Steckdosen und Akkuengpässen verabschieden kann. Lediglich das Wetter muss mitspielen.
iPhone 7: Kanten-Display
Nachdem Apple ein Patent für ein gewölbtes Edge-Display eingereicht hat, ist es nicht mehr weiter unwahrscheinlich, dass eines der künftigen iPhone-Modelle, vielleicht sogar das iPhone 7, über ein Touchscreen am Gehäuserand verfügen wird. Dorthin könnte Apple Tippflächen, wie etwa für Lautstärke oder ähnliches, auslagern.

Gebogenes Display und mehr - so könnte das iPhone 7 aussehen (Bild: iPhone Hub) 
Solarzellen - vielleicht auch bald im iPhone 7 (Bild: Apple) 
Seitenränder als Touchscreen - das Samsung Galaxy Edge+ nennt sie bereits sein Eigen (Bild: Mesut G.) 
Gebogenes Display - LG hat es bereits in die Tat umgesetzt. Folgt nun auch Apple? (Bild: LG) 
Die Konkurrenz bietet bereits wasser- und staubgeschützte Smartphones - bei Apple wäre es langsam auch an der Zeit (Bild: Cat Phone) 
Apple TV als Spielekonsole und das iPhone 7 als Controller - ein bestimmt unschlagbares Duo (Bild: Apple / US-Patentamt)
Die Patentanmeldung wurde allerdings etwas erschwert, da Samsung mit seinem Galaxy Edge+ diese Erfindung bereits auf den Markt gebracht hat. Gleichzeitig besagt dies, dass die Umsetzung dieser Technik in die Realität möglich ist. Zudem möchte Apple in puncto Anspruch und Innovation bestimmt nicht hinter Samsung fallen.
iPhone 7: Gekrümmtes Display
Ein weiteres Patent, das eine physikalische Änderung am Display vorsieht, ist ein gekrümmtes Display. LG hat es bereits mit dem LG G Flex versucht, doch kam nicht gerade gut bei den Kunden an. Apple wird sich hier wohl etwas besseres einfallen lassen oder lassen müssen. Das heißt allerdings noch lange nicht, dass sich Apple hier nicht etwas besseres einfallen lassen wird.

Gebogenes Display und mehr - so könnte das iPhone 7 aussehen (Bild: iPhone Hub) 
Solarzellen - vielleicht auch bald im iPhone 7 (Bild: Apple) 
Seitenränder als Touchscreen - das Samsung Galaxy Edge+ nennt sie bereits sein Eigen (Bild: Mesut G.) 
Gebogenes Display - LG hat es bereits in die Tat umgesetzt. Folgt nun auch Apple? (Bild: LG) 
Die Konkurrenz bietet bereits wasser- und staubgeschützte Smartphones - bei Apple wäre es langsam auch an der Zeit (Bild: Cat Phone) 
Apple TV als Spielekonsole und das iPhone 7 als Controller - ein bestimmt unschlagbares Duo (Bild: Apple / US-Patentamt)
iPhone 7: Wasser und staubdicht
Sowohl wasser- als auch staubdicht sind mittlerweile nicht mehr nur die "Panzer"-Smartphone, die in der Regel im Outdoor-Bereich oder auf Baustellen zum Einsatz kommen, sonder auch Smartphones für den tagtäglichen Einsatz. Diese Geräte sind mit der IP-Zertifizierung versehen.

Gebogenes Display und mehr - so könnte das iPhone 7 aussehen (Bild: iPhone Hub) 
Solarzellen - vielleicht auch bald im iPhone 7 (Bild: Apple) 
Seitenränder als Touchscreen - das Samsung Galaxy Edge+ nennt sie bereits sein Eigen (Bild: Mesut G.) 
Gebogenes Display - LG hat es bereits in die Tat umgesetzt. Folgt nun auch Apple? (Bild: LG) 
Die Konkurrenz bietet bereits wasser- und staubgeschützte Smartphones - bei Apple wäre es langsam auch an der Zeit (Bild: Cat Phone) 
Apple TV als Spielekonsole und das iPhone 7 als Controller - ein bestimmt unschlagbares Duo (Bild: Apple / US-Patentamt)
Ein Patent von Apple sieht vor, dass das iPhone ebenfalls gegen Wasser und vielleicht sogar Staub geschützt sein wird. Da - wie gesagt - die Android-Konkurrenz hier die Nase vorn hat, ist es nur noch eine Frage der Zeit, bis Apple der Forderung aus der Fan-Gemeinde nachkommt, denn wer hat schon Lust, das iPhone am Baggersee oder im Freibad wie ein rohes Ei behandeln zu müssen.
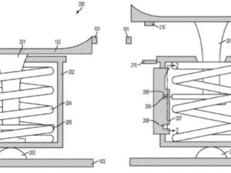
iPhone 7: Joystick im Homebutton
Erst kürzlich kursierte das Gerücht, Apple TV könne neben seiner Funktion als Fernseh- beziehungsweise Streaming-Box künftig auch als Spielekonsole dienen. In diesem Zusammenhang stellt sich die Frage, womit man die Spiele steuern soll, denn von einem Controller war erstmal nicht die Rede.

Gebogenes Display und mehr - so könnte das iPhone 7 aussehen (Bild: iPhone Hub) 
Solarzellen - vielleicht auch bald im iPhone 7 (Bild: Apple) 
Seitenränder als Touchscreen - das Samsung Galaxy Edge+ nennt sie bereits sein Eigen (Bild: Mesut G.) 
Gebogenes Display - LG hat es bereits in die Tat umgesetzt. Folgt nun auch Apple? (Bild: LG) 
Die Konkurrenz bietet bereits wasser- und staubgeschützte Smartphones - bei Apple wäre es langsam auch an der Zeit (Bild: Cat Phone) 
Apple TV als Spielekonsole und das iPhone 7 als Controller - ein bestimmt unschlagbares Duo (Bild: Apple / US-Patentamt)
Vielleicht benötigt man diesen auch überhaupt nicht, sondern verwendet schlichtweg das iPhone 7. Ein Patent sieht vor, dass unter dem Homebutton, der bislang neben seiner ursprünglichen Funktion die Touch ID enthält auch ein Joystick verbaut werden soll. Darüber ließen sich Spiele nicht nur auf dem iPhone, sondern auch auf Apple TV zocken, wobei das iPhone die Rolle des Controllers übernimmt.














Diskutiere mit!
Hier kannst du den Artikel "iPhone 7: Die 5 maßgeblichsten Neuerungen des Apple Smartphones - Patente verraten die Zukunft" kommentieren. Melde dich einfach mit deinem maclife.de-Account an oder fülle die unten stehenden Felder aus.
Neu: man kann es nicht weg werfen. Kommt zurück wie Bumerang.
Wasser- und staubdicht damit man auch unter Wasser googeln kann. Ich dachte das gebogene Display gibt es schon - wenn man das iphone6 in der Gesäßtasche hat und sich setzt, sieht es genauso aus wie auf dem Bild.