Titelabfrage in Händen der KonkurrenzSony kauft iTunes-CD-Titel-Datenbank Gracenote Der gängige Weg in iTunes, Informationen wie Albumname oder Interpret zu den einzelnen Titeln zu erhalten, ist die automatische Abfrage der Titelinformationen in...
Apple on AirAudioaufzeichnung der Bekanntgabe von Apples Quartalsergebnissen Heute Abend gegen 22:30 Uhr wird es wieder für alle Anleger und Apple-Interessenten spannend: Dann wird das Unternehmen aus Cupertino die Ergebnisse seines...
Neue Chips für das iPhoneApple kauft Mikroprozessor-Hersteller Die Zukunft des iPhone und auch der iPods hängt von hochentwickelten, stromsparenden Mikroprozessoren ab, denn nur dadurch können die Geräte immer kompakter...
Plug-Ins selbst herstellenAperture-Entwickler-Kit jetzt abrufbar Nicht nur für das iPhone und den iPod stellt Apple ein Entwicklerwerkzeug zur Verfügung, auch Aperture 2.1 erhielt jetzt ein eigenes Entwickler-Kit (kurz SDK),...
GEMA bestätigt VertragsabschlussPaneuropäischer iTunes-Store kommt Seit der Einführung des iTunes Store in Europa wird jedes Land einzeln mit digitaler Musik beliefert und das Repertoire der Stores unterscheidet sich zum Teil...
Lernen unterwegsMac-Weiterbildung als Videopodcast Vieles am Mac ist selbsterklärend, doch für manches benötigt man professionelle Unterstützung. Weiterbildung heißt hier das Zauberwort und wird in vielen...
Für iMac, Mac mini, MacBook (Pro)Apple veröffentlicht Firmware Restoration CD 1.7 Immer wenn ein neues Firmware-Update erscheint, aktualisiert Apple auch die Software der Firmware Restoration CD. So auch dieses Mal, nachdem die MacBook-Pro...
StabilitätsverbesserungenMacBook Pro EFI Firmware aktualisiert [Upd.] In der vergangenen Nacht veröffentlichte Apple ein Update, das für alle MacBook-Pro-Besitzer interessant ist. Das MacBook Pro EFI Firmware Update 1.5.1 soll...
3G-iPhone ohne Providerbindung?Apple will in Italien neue iPhone-Strategie ausprobieren Dass es das iPhone bald in vielen anderen Ländern geben wird, ist unumstritten. Doch in Italien werden - glaubt man den neuesten Gerüchten - die Wartenden mit...
VeröffentlichtErste Nachbearbeitungs-PlugIns für Aperture Mit Aperture 2.1 kündigte Apple an, dass nun auch die Programmierung von Erweiterungen durch Dritthersteller möglich ist. Schnell machten sich eben diese an die...
Mitmachen und gewinnen!Große maclife.de-Leserumfrage mit Top-Gewinnen maclife.de will mehr über seine Leser wissen, um das Angebot an News, Berichten und Online-Tests noch besser an die Bedürfnisse der Nutzer anpassen zu können....
Gute WerbungApple-Produkte spornen Konkurrenz zur LED-Nutzung an Dass Backlight-LEDs stromsparend sind und noch dazu eine gute Bildqualität liefern ist unumstritten, die damit hergestellten Monitore und Geräte aber sind noch...
Extra aufgeteiltApples Windows-Softwareaktualisierung aktualisiert In den letzten Wochen kam es zu starken Protesten, weil Apple auf Windows-Rechnern über die Softwareaktualisierung nahezu ungefragt seinen Webbrowser Safari...
Identifiziert per FernsteuerungssoftwareBack to My Mac überführt MacBook-Dieb Mit Leopard führte Apple auch die Funktion "Back to My Mac" in den .Mac-Service ein. Damit lässt sich auf den eigenen Mac von jedem anderen Mac mit Leopard aus...
Businessweek bestätigtApple ist innovativstes Unternehmen 2008 Innovation ist es, was die heutigen Top-Unternehmen ausmacht und von den traditionellen Firmen abhebt. BusinessWeek machte sich deshalb zusammen mit der Boston...
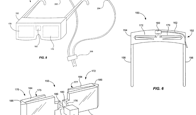
Weitere PatentanträgeApple patentiert Videobrille Videobrillen sind noch immer keine Massenware, sehen etwas klobig aus und sind höchstens für den Einsatz in Flugzeug oder Bahn geeignet. Dennoch möchte auch...
Schneller und 3DGoogleEarth 4.3 - Update mit schönen, neuen Funktionen Nahezu jeder hat Google Earth auf seinem Mac, sei es, um den Urlaubsort auf seine Strandqualität hin zu testen oder das eigene Haus zu beobachten. Jetzt...
Mac-Klon auf der FluchtOpenComputer/Psystar nur heiße Luft? Noch vor wenigen Tagen machte der Mac-Klon der Firma Psystar Schlagzeilen. Für 400 US-Dollar bot das Unternehmen aus Miami einen PC als verbesserten Mac mini an,...
WWDC 2008Apple Design Awards 2008 ausgeschrieben Inzwischen stehen alle über 150 Workshops und Sessions der World Wide Developer Conference (WWDC) 2008 fest. Zeit also für Apple, den nächsten Schritt zu gehen...
ARD/ZDF-KampagneThink Different kopiert: Ihr gutes öffentliches Recht "Sie haben ein Recht auf Meinungen" tönt es einem derzeit in den öffentlich-rechtlichen Fernsehsendern entgegen. In einem Werbespot werden dabei Prominente...