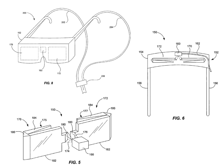
Das Head mounted display system, die Peripheral treatment for head-mounted displays und die Enhanced image display in head-mounted displays wurden von Apple bereits im Sommer 2006 für die Patentierung eingereicht (via fscklog). Hintergrund der nicht sehr neuen Idee ist, dass die Bilder via Laserlicht entstehen und die gesamte Technik nicht in der Brille, sondern in einer extra Box sitzt. Dadurch entfällt die Klobigkeit der meisten Videobrillen, die allerdings auch der Zeiss Cinemizer kaum noch besitzt. Doch Apples Head mounted display system soll noch einen Schritt weiter gehen: Die zwei Millimeter starken Displays lassen sich von Auf- auf Durchsicht schalten. Und dank der beiden weiteren Patentanträge wurde auch schon an den Anschluss von Peripheriegeräten gedacht, sowie 3D-Darstellung mittels Stereoskopie.







