Fitness-SpezialDie besten Fitness-Apps für iPhone, Apple Watch und Apple TV Diese zwölf Fitness-Apps unterstützen Sie bei Ihren sportlichen Zielen und halten Sie in Bewegung. Wir zeigen Ihnen die besten Apps für einfache Workouts und...
Fitness-SpezialApple-Watch-Alternativen: Das sind die Herausforderer Gibt es Leben neben der Apple Watch? Durchaus: Spätestens mit der Version 2 seines Uhren-Betriebssystems Android Wear hat Google den Smartwatch-Markt auch für...
Neue Farben fürs HandgelenkDer Frühling naht: Apple spendiert der Watch neue Armbänder Neue Armbänder für die Apple Watch. Der Frühling kommt (demnächst). Apple spendiert deshalb seiner Smartwatch schon im März neue Armbänder. Die sind gestaltet...
Studie durch Peer-Review bestätigtApple Watch erkennt Herzrhythmusstörungen, besser noch als KardiaBand Apple Watch erkennt Herzrhythmusstörungen. Eine Studie der Universität Kalifornien, einer E-Health-Gesundheitsorganisation aus San Francisco und des...
Für zukünftige GeräteGeheime Einrichtung: Apple arbeitet an eigenem Micro-LED-Display Apple entwickelt immer mehr Bauteile seiner Geräte selbst. Im Bereich Display ist die Firma allerdings noch immer auf verschiedene Zulieferer, unter anderem...
SmartwatchFitbit-Manager beleidigt Millionen Apple-Watch-Nutzer Fitbits Finanzchef Bill Zerella ist nicht von der Apple Watch begeistert und meint, dass deren Besitzer es auch nicht sind. Deshalb glaubt er, dass die Fitbit...
Uhr wird zum LaborAliveCor KardiaBand für Apple Watch soll hohe Kaliumwerte erkennen AliveCor hat mit dem KardiaBand für Apple Watch ein Uhrarmband entwickelt, das ein EKG ableiten kann. Doch nun soll es damit auch möglich sein, hohe Kaliumwerte...
Neue Sticker und AuszeichnungWeltfrauentag: Neue Herausforderung für die Apple Watch Apple feiert immer häufiger verschiedene Ereignisse und besondere Termine mit Herausforderungen für Besitzer eine Apple Watch. Erstmals wird es dieses Jahr auch...
Apple vor FitbitApple Watch bringt Apple den Thron der Wearable-Hersteller Apple mit Watch vor Fitbit. Der iPhone-Hersteller aus Cupertino hat es Analysen zufolge geschafft, sich im Markt der Wearables ganz vorn zu etablieren. Im...
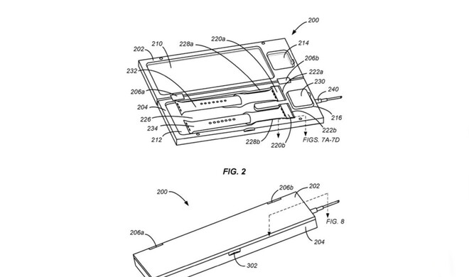
Aufklappen, einlegen, laden Apple Watch laden wie die AirPods: Neues Patent von Apple Sicherlich eine der besten Funktionen der AirPods ist deren Ladecase. Darin werden die kleinen Kopfhörer nicht nur verstaut, sondern auch völlig unkompliziert...
AngepasstwachtOS 4: So individualisieren Sie das neue Siri-Ziffernblatt der Apple Watch Mit watchOS 4 verbesserte man die Apple Watch erneut und machte gleichzeitig verschiedene Dinge anders. Zu den Neuerungen gehörten auch neue Ziffernblätter wie...
Neuer OrdenUpdate: Neue Aktivitätsherausforderung für Apple Watch startet morgen Der Februar steht in den Vereinigten Staaten traditionell ganz im Zeichen des „Heart Month“. Seit 1964 soll dieser Themenmonat die Menschen an verschiedenste...
Schnelle Hilfe im ErnstfallSo richten Sie das Notfall SOS auf der Apple Watch ein Wenn wir unterwegs sind, dann haben wir ein Gerät immer dabei - unser iPhone. Es unterstützt uns in jeder Situation und wird seit einiger Zeit auch von der Apple...
Sprache in TextApple Watch: So wandeln Sie Sprachnachrichten automatisch in Text um Auch mit watchOS 4 hat Apple viele Funktionsweisen der Apple Watch überarbeitet. Die Seitentaste zeigt keine Favoriten mehr an. Das Dock wurden einmal mehr...
SicherheitsfeatureApple Watch: So richten Sie die Codesperre nachträglich ein Auch in watchOS 4 kann die Apple Watch für Diebe weitestgehend unbrauchbar gemacht werden. Hierzu kann Sie mit einer Code- und Aktivierungssperre eingerichtet....
Technologie noch weit wegBlutzuckermessungen mit der Apple Watch sind Zukunftsmusik Gerüchte um die Möglichkeit der Blutzuckermessung mit der Apple Watch erhalten nun einen Dämpfer. Einem Bericht der New York Times zufolge sei die Forschung...
NeusortierungApple Watch: So ordnen Sie die Apps um Seit Ihrer Veröffentlichung hat die Apple Watch viel Zuspruch von Entwicklern erhalten, die ihre Apps für die smarte Apple-Uhr angepasst haben. Allerdings werden...
Apple-PatentanmeldungSiri soll künftig flüstern, wenn es der Benutzer auch tut Eine neue Patentanmeldung zeigt, dass Apple daran arbeitet, Siri und ihre Kernkompetenzen zu verbessern. So soll der Sprachassistent flüstern, wenn der Benutzer...
Pulsmessung führte zu WarnmeldungenWie die Apple Watch das Leben eines Mannes rettete Scott Killian hätte sich nie vorstellen können, dass seine Apple Uhr sein Leben retten könnte, aber genau das geschah vor ein paar Wochen, als er mitten in der...
Kürzer AkkulaufzeitApple Watch: So bleibt das Display länger aktiv Um die Akkulaufzeit der Apple Watch zu erhöhen, wendet Apple einen einfachen aber effektiven Trick an. Das Display bleibt nie lange eingeschaltet und wird auch...