Nicht nur iPhone-Käufer, sondern auch Smartphone-Nutzer generell haben mittlerweile eine halbwegs passable und bei den High-end-Modellen sogar eine ziemlich gute Fotokamera immer mit im Gepäck.
Mehr Apple-Wissen für dich.
Mac Life+ ist die digitale Abo-Flatrate mit exklusiven, unabhängigen Tests, Tipps und Ratgebern für alle Apple-Anwenderinnen und Anwender - ganz egal ob neu mit dabei oder Profi!
Mac Life+ beinhaltet
- Zugriff auf alle Online-Inhalte von Mac Life+
- alle digitalen Ausgaben der Mac Life, unserer Sonderhefte und Fachbücher im Zugriff
- exklusive Tests, Artikel und Hintergründe vorab lesen
- maclife.de ohne Werbebanner lesen
- Satte Rabatte: Mac, iPhone und iPad sowie Zubehör bis zu 15 Prozent günstiger kaufen!
✔ SOFORT gratis und ohne Risiko testen: Der erste Monat ist kostenlos, danach nur 6,99 Euro/Monat.
✔ Im Jahresabo noch günstiger! Wenn du direkt für ein ganzes Jahr abonnierst, bezahlst du sogar nur 4,99 Euro pro Monat.
Wird die nächste iPhone-Kamera kleiner?
Während man bei herkömmlichen Spiegelreflexkameras eine neue Linse aufschraubt, um eine andere Brennweite zu erzielen, verfügen moderne Smartphones in der Regel über gleich mehrere Linsen in einem Gehäuse. Das sieht, je nach Hersteller, mal mehr mal weniger abenteuerlich aus.
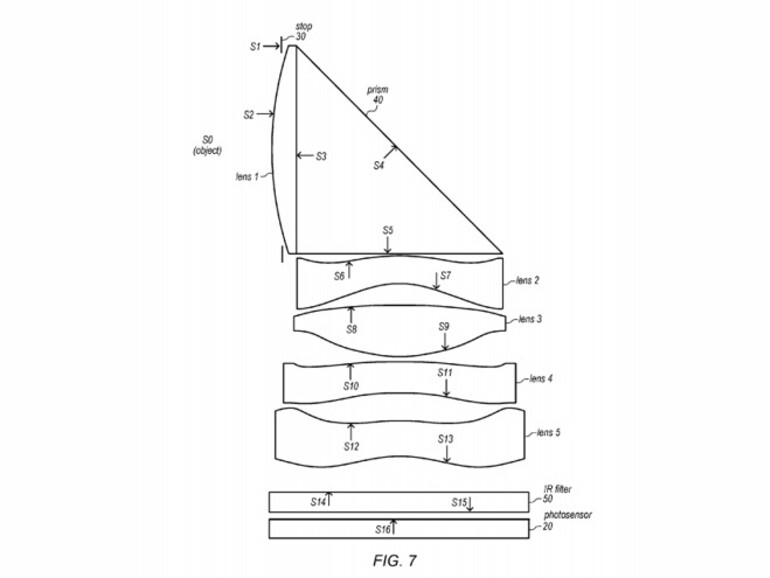
Wie schafft man es also, den Platz, den die Kameras und Kameralinsen im oder am Gehäuse einnehmen, zu reduzieren? Genau darüber zerbrechen sich Ingenieure bei Apple den Kopf, wie eine neue Patentveröffentlichung zeigt. Entsprechend kann man davon ausgehen, dass Apple nicht auf ewig plant, mit dem Kamerabuckel oder zumindest einer so großen Kamera auf der Rückseite seiner Smartphones auszukommen.

Eine Linse für alles?
Apples Patentschrift schlägt vor, eine einzelne Öffnung zu verwenden. Dahinter oder besser „darunter“ verbirgt sich dann ein Konvolut an weiteren Linsen. Nun ist das Interessante allerdings, das zuoberst das Licht je nach gewünschtem Ergebnis unterschiedlich gebrochen wird.
Der Nutzer der iPhone-Kamera entscheidet also, welche Art der Aufnahme er machen möchte und in der Folge wird das Licht passend für dasjenige System der Linsen gebrochen, damit am Ende das gewünschte Ergebnis auf dem Bildsensor am Ende des Kamerasystems landet.
Apple hat nun sogar zwei Patentschriften für ein System mit drei und ein weiteres System mit fünf lichtbrechenden (engl. refractive) Linsen zum Patent angemeldet.
Was halten Sie von dieser Idee?







