Ben Kunz ist eigentlich Strategiechef bei Mediassociates, einem Unternehmen für Medienplanung. Er zitiert ein Apple-Patent aus dem Jahr 2010, das für ihn ein klarer Hinweis auf Apples neusten Coup sein könnte.
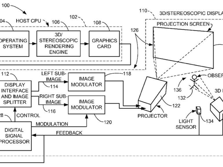
Das Patent mit der Nummer 11/533,580 beschreibt ein „dreidimensionales Anzeigesystem für eine Projektionsfläche mit der dreidimensionale Bilder jeweils moduliert und wiedergegeben werden können“. Apple macht das System dabei so einfach, wie zum Beispiel Microsofts Kinect Bewegungen erkennt und verarbeitet. Brillen und ähnliche Hilfen zur Betrachtung sind dabei laut Patent nicht nötig.
Den Markt stuft Kunz für Apple äußerst verführerisch ein: Die Technologie kann in jedem Bereich eingesetzt werden. Im Businessbereich für Konferenzen. Für Endkunden könnte es die angekündigte "Wohnzimmer-Revolution" werden: ein Apple HDTV, neuartige Mac-Displays und so weiter. Apple hätte das Potential wie schon bei Mouse und iPhone/iPad, einen bestehenden Markt umzukrempeln und ein Produkt herauszugeben, das so ist, wie es sich Kunden wünschen.
Apple hat sich in den letzten Jahren mit den Unternehmen C3 Technologies und Poly9 passendes Technologie-Know-How dazu gekauft.









Diskutiere mit!
Hier kannst du den Artikel "Sind Hologramme Apples nächste Revolution?" kommentieren. Melde dich einfach mit deinem maclife.de-Account an oder fülle die unten stehenden Felder aus.
Man stelle es sich einmal vor, ein holographisches Facetime .... ich freu mich drauf!
Ach was! Du musst wie ein Businessman denken! Holof*cktime... SiliconValey wird sicher zum Erfolg beitragen...