Faltbare Smartphones haben noch einige Probleme. Neben der Verschmutzung des Schaniers durch Staub und Dreck sind die Displays sehr empfindlich, da sie nicht wie üblich durch zusätzliches Glas geschützt werden. Dadurch entstehen Knicke und die Oberfläche ist stark anfällig für Kratzer.
Mehr Apple-Wissen für dich.
Mac Life+ ist die digitale Abo-Flatrate mit exklusiven, unabhängigen Tests, Tipps und Ratgebern für alle Apple-Anwenderinnen und Anwender - ganz egal ob neu mit dabei oder Profi!
Mac Life+ beinhaltet
- Zugriff auf alle Online-Inhalte von Mac Life+
- alle digitalen Ausgaben der Mac Life, unserer Sonderhefte und Fachbücher im Zugriff
- exklusive Tests, Artikel und Hintergründe vorab lesen
- maclife.de ohne Werbebanner lesen
- Satte Rabatte: Mac, iPhone und iPad sowie Zubehör bis zu 15 Prozent günstiger kaufen!
✔ SOFORT gratis und ohne Risiko testen: Der erste Monat ist kostenlos, danach nur 6,99 Euro/Monat.
✔ Im Jahresabo noch günstiger! Wenn du direkt für ein ganzes Jahr abonnierst, bezahlst du sogar nur 4,99 Euro pro Monat.
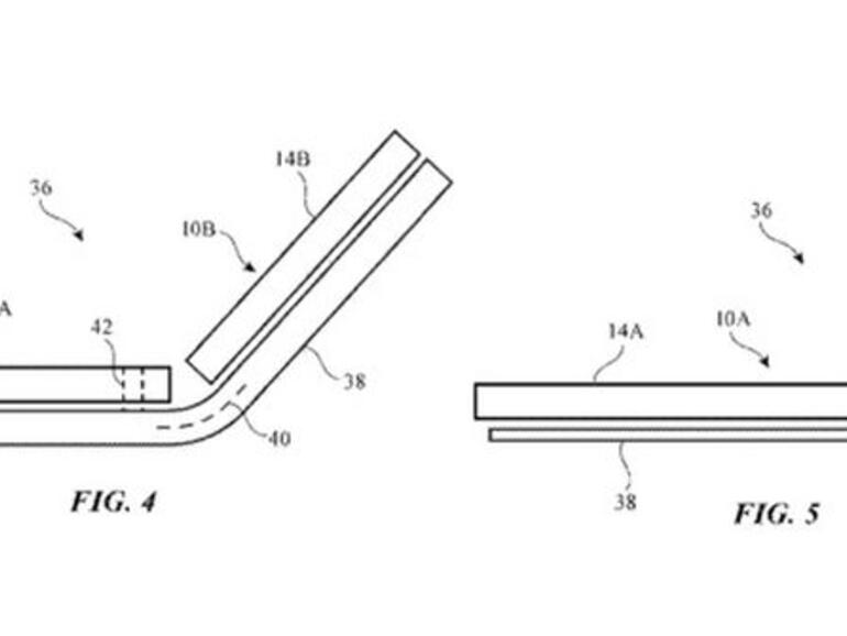
Apple hat ein Patent erhalten, das zeigt, dass das Unternehmen wohl einen anderen Ansatz verfolgt und nicht auf ein durchgängiges Display setzt. Laut dem nun erschienenen Patent können zwei oder mehrere Geräte gemeinsam einen Verbund bilden und sich wie ein System steuern lassen.
Raum für Spekulationen
Dabei sollen sich die Geräte gegenseitig mit einem Annährungssensor erkennen und das Display anhand des Randes ausrichten. Allerdings ist dabei unklar, ob die Technologie für ein faltbares Gerät in Frage kommt. Aus zwei einzelnen Displays könnte so im aufgeklappten Zustand eines werden.
Microsoft hat mit dem Surface Duo ein ähnliches Gerät bereits angekündigt. Apple könnte allerdings auch einen anderen Plan mit dem Patent verfolgen und etwa mehrere Geräte miteinander koppeln. Denkbar wäre, dass man unterwegs einfach das eigene Smartphone mit dem eines Freundes zusammenlegt und dadurch ein größeres Display erhält. Dem Patent zufolge sollen die Geräte nämlich auch in verschiedenen Orientierung magnetisch zusammengehalten werden, damit das Bild nicht verrutscht.










