
Individuelles Hörprofil
Denon Perl Pro im Test: Einzigartiger Klang?
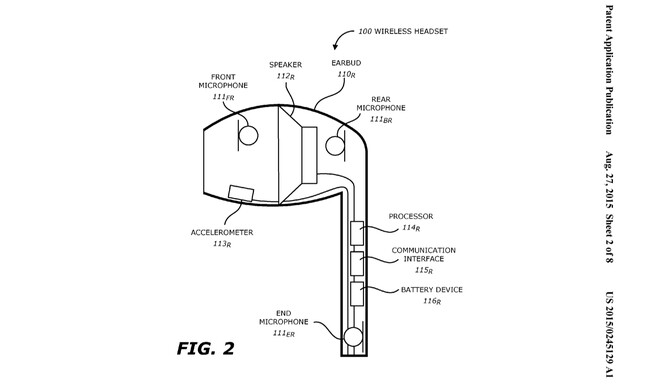
Die Perl Pro versprechen ein individuelles Hörerlebnis sondergleichen dank ausgeklügelter Mikrofon-Technologie. Im Test fühlen wir dieser auf den Zahn.

















