Noice-Cancelling-Kopfhörer gibt es seit vielen Jahren, vornehmlich als Over-Ear-Kopfhörer. Die aktive Geräuschunterdrückung hat aber auch ein einigen In-Ear-Modellen Einzug gehalten. In allen Fällen nehmen Mikrofone die Umgebungsgeräusche auf und die Elektronik erzeugt mehr oder minder schnell ein Signal, mit der der Störschall ausgelöscht werden kann. Das klappt mittlerweile auch bei günstigen Modellen einigermaßen gut, wobei unserer Erfahrung nach Unterhaltungen praktisch nicht wegfilterbar sind, rauschende Störungen jedoch sehr gut.
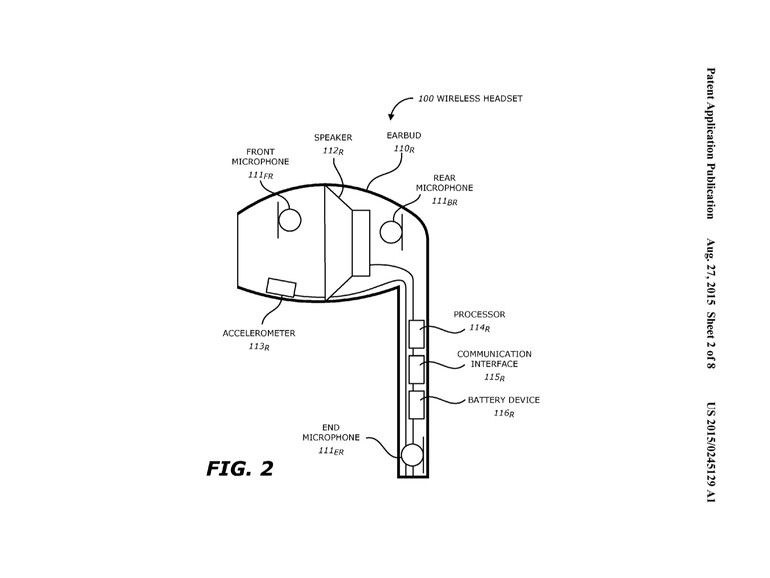
Apple hat nun einen Patentantrag eingereicht, bei dem es um einen schnurlosen In-Ear-Kopfhörer geht, der mit einer aktiven Geräuschunterdrückung ausgerüstet sein soll. Er funktioniert in Zusammenarbeit mit dem iPhone oder iPad. Das Patent beschreibt, wie die Mikrofone im Kopfhörer die Umgebungsgeräusche aber auch eigene Stimme aufzeichnen, wobei hier der Körperschall aufgenommen wird. So soll verhindert werden, dass aggressive Algorithmen die Sprachqualität verschlechtern oder die Sprache zu leise übertragen wird.
Der Kopfhörer kommuniziert dabei mit dem iPhone oder iPad um die Lautstärke anzupassen. Das ist bei anderen Kopfhörern mit aktiver Geräuschunterdrückung nicht der Fall. Die Regelung soll auf jedes Ohr separat angepasst werden.
Nach einem Bericht von Patently Apple will Apple dem angeblich kommenden iPad Pro Telefonfunktionen verpassen, wofür ein schnurlose Headset mit aktiver Geräuschunterdrückung hervorragend passen würde. Ein großes Problem bei einem solchen System könnte jedoch der Akku sein, der bei In-Ear-Modellen nur recht klein ausfallen darf.
Da es sich jedoch um einen Patentantrag handelt, muss man vorsichtig mit solchen Aussagen sein. Viele Ideen aus Patentanträgen aber auch zugesprochene Patenten werden nie realisiert. Der Patentantrag 20150245129 wurde schon im Februar 2014 eingereicht aber erst jetzt veröffentlicht.
Beide bieten 27 Zoll und 5K, zwischen ihnen liegen aber 700 Euro Preisunterschied. Was der BenQ besser kann, was er vermisst lässt und für wen er die richtige Wahl ist: unser ausführlicher Test.









