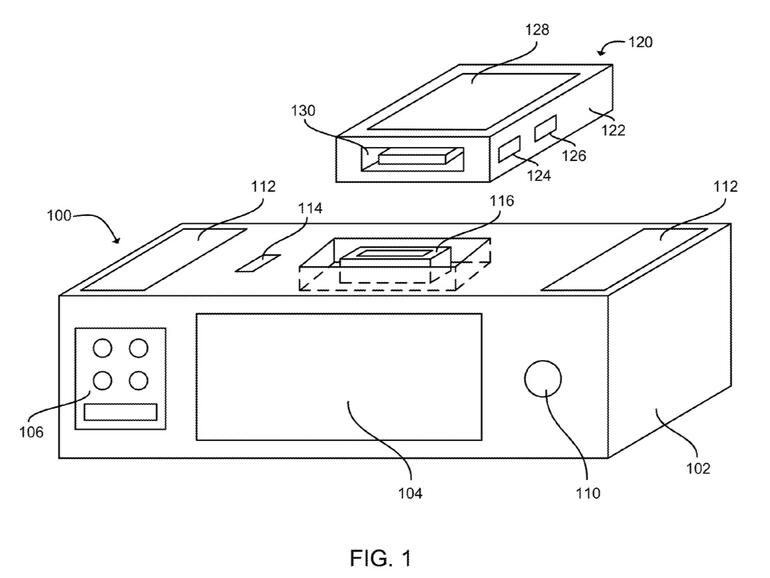
Die Website Patently Apple bringt nahezu täglich neue Apple-Patente ans Licht. Diese geben mal einen größeren, mal einen kleineren Ausblick auf zukünftige Produkte. Eines der aktuell aufgetauchten Patente zeigt ein smartes iPhone-Dock mit Siri-Unterstützung. Das darin beschriebene Dock ist für ein mobiles Gerät gedacht, welches den Spracherkennungs-Mode aktiviert. Die Ähnlichkeit zu Apples HomePod ist dabei nicht von der Hand zu weisen. Das Gerät besitzt nämlich ein Display, ein Lautsprecher sowie ein Mikrofon. Auch wenn die im Patent gezeigte Zeichnung natürlich stark vom HomePod abweicht.
Nebenbei wurde ein weiteres interessantes Patent veröffentlicht, welches eine neue Technologie zeigt, um diskrete Notrufe abzusetzen. Dabei wird die bisherige Methode weiter ausgebaut, da diese laut Patent „nicht sonderlich praktisch ist, wenn jemand dabei zusieht.“ Apple sieht daher eine Kombination aus Fingerabdruck und Displayberührungen vor. Laut dem Patent könnte während des Einrichtungsprozess ein bestimmtes Muster festgelegt werden, welches den Notruf aktiviert. Damit ließe sich bei jedem Gerät eine individuelle Notfallaktivierung konfigurieren. Passend dazu wäre natürlich vorstellbar, dass Apple auch für den HomePod ein ähnliches Konzept umsetzt, damit der smarte Lautsprecher auch im Notfall helfen kann – vielleicht auch nur anhand einer bestimmten Spracheingabe.









