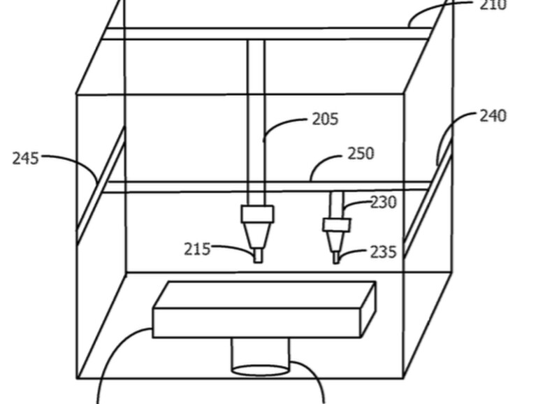
Der Drucker, den Apple in seinem Patentantrag beschreibt, kann dreidimensionale Modelle in mehreren Farben drucken. Dabei werden zwei unterschiedliche Druckköpfe eingesetzt. Einer davon verteilt das sogenannte Filament in Schichten so, dass nach und nach das Objekt entsteht, der andere Druckkopf sorgt dafür, dass die Schichten mit Farbe besprüht werden. Das kann beispielsweise wie beim Tintenstrahldrucker funktionieren.
Bisherige Farb-3D-Drucker sind erheblich aufwändiger gebaut und verarbeiten verschiedene Kunststoffdrähte, die sie schmelzen. Mit feinen Düsen, die sich in X und Y-Richtung bewegen lassen wird die gewünschte Struktur scheibchenweise gebaut. Meistens bewegt sich der Druckkopf oder der Drucktisch dabei millimeterweise in Z-Richtung. Je mehr Farben verarbeitet werden, desto voluminöser wird ein solcher Drucker zwangsläufig.
Der letzte Drucker, den Apple tatsächlich baute, war der LaserWriter 8500 aus dem Jahr 1997. Seitdem überlässt Apple anderen Anbietern wie HP und Samsung das Druckergeschäft.
Apples erster Laserdrucker aus dem Jahr 1985 war das erste massenmarkttaugliche Gerät, auch wenn er rund 7.000 US-Dollar kostete. Heutzutage sind die Geräte so günstig, dass es teilweise kaum lohnt, die überteuerten Tonerkartuschen dafür zu kaufen.
Ob Apple wirklich einen 3D-Drucker bauen wird, steht bekanntlich in den Sternen, aber vielleicht ist dieses Druckverfahren so interessant, dass Apple einfach versucht, der Konkurrenz durch das Patent das Leben etwas schwerer zu machen.
Die US-Patentanmeldung 20150343704 wurde am 3. Dezember 2015 veröffentlicht und schon Ende Mai 2014 eingereicht.








Diskutiere mit!
Hier kannst du den Artikel "Apple erfindet mehrfarbigen 3D-Drucker mit Tintenstrahltechnik" kommentieren. Melde dich einfach mit deinem maclife.de-Account an oder fülle die unten stehenden Felder aus.
Achtung ich spammer hier
Okay Meldung Support ist raus
Es gibt übrigens schon 3D-Drucker, die in Farbe und ohne Einsatz und Wechsel von Plastik-Spulen drucken können. Die technische Umsetzung mag vielleicht neu sein, das Ergebnis des Druckvorgangs allerdings nicht. Bitte mehr recherchieren...