Das Magic Keyboard hat fast die gleiche Tastatur wie das neue MacBook Pro aber im Gegensatz dazu sind die Tasten unbeleuchtet. Das ist für Nutzer, die das 10-Finger-System nicht blind beherrschen, recht unergonomisch. Künftig könnte sich das ändern, wenn Apple seinen Patentantrag in ein Produkt umsetzt und das Magic Keyboard mit illuminierten Tasten auf den Markt bringt.
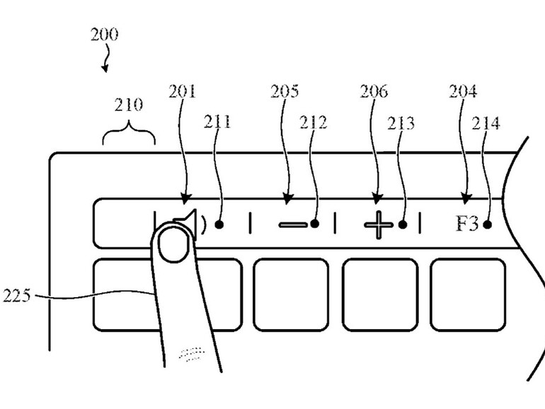
Im Patentantrag erkennt man auch unschwer ein Zweidisplay auf der Tastatur, das starke Ähnlichkeiten mit der Touch Bar des MacBook Pro hat. Für Profis, die auf ihrem Schreibtisch nicht direkt mit der Tastatur des Notebooks arbeiten sondern schlicht eine externe Tastatur anschließen, ist die integrierte Touch Bar sowieso unbrauchbar. Da wäre eine Implementierung im Magic Keyboard gerade richtig. Auch ein Fingerabdruckscanner für Touch ID wäre sicherlich nützlich und könnte vielleicht ebenfalls in das Magic Keyboard integriert werden.
Natürlich muss Apple auf dem Weg dahin noch einige Probleme lösen, einschließlich die Frage nach der Akkulaufzeit oder nach den Bildwiederholraten des OLED-Displays. Schließlich ist das Gerät nur über Bluetooth mit dem Rechner verbunden.
Apple hat seinen Patentantrag 20170090593 im September 2016 eingereicht. Er wurde erst jetzt veröffentlicht.
Einige Grafikkünstler haben sich schon vorher mit der Frage beschäftigt, wie eine externe Tastatur mit Touch ID aussehen könnte. Der Entwurf von „Hazza42” trifft dabei die Patentzeichnungen schon sehr gut, wobei sich der Künstler allerdings eine externe Tastatur mit Ziffernblock vorstellt.

Apple Magic Keyboard – Deutsch
Magic Keyboard mit Touch Bar - Mock-Up (Bild: Hazza42 via Reddit)
So könnte ein Magic Keyboard mit Touch Bar aussehen









Diskutiere mit!
Hier kannst du den Artikel "Apple denkt an Magic Keyboard mit Touch Bar" kommentieren. Melde dich einfach mit deinem maclife.de-Account an oder fülle die unten stehenden Felder aus.
Ich prophezeie einen Preis von 320 €
(120 € Tastaur + 200 € Aufschlag für die "grandiose" Touchbar)
Kommt der Imac eher Mitte oder Ende des Jahres? Wahrscheinlich ein kleines Design update inklusive und 8k für die Pro Version....
Ich will keine "intrigierte Touch-Bar". Wer weiss, was die alles mit meinen Daten anstellt?
Mir wäre eine "integrierte Touch-Bar" erheblich lieber !
;o))
(Soviel Zeit sollte sein)
Diese bescheuerte Touchbar sollen die sich sonst wo hinschieben, dieser Mist ist sowas von unbrauchbar.
Ja der Preis wird vermutlich nicht gerade ohne
Werner findest du. Andere sehen es möglicherweise anders.
Touch ID auf einem externen Keyboard stelle ich mir schwierig vor. Denn die Erkennung des Fingerabdrucks und seine Freigabe als "safe" geschieht direkt im Sensor, und der ist untrennbar mit dem Chip des Rechners verbunden. Die biometrische Daten sind direkt im Sensor und verlassen diesen nicht. Ein anderer Sensor funktioniert nicht mit dem Chip. Das soll verhindern, dass jemand z.B. ein iPhone klaut und dort einen auf seinen Fingerabdruck "geeichten" Touch-ID-Sensor einbaut, um das Gerät mit seinem Finger entsperren zu können.
Das geht aber nicht mit einem externen Gerät. Da müsste der Sensor eine Prüfsumme des Abdrucks an den im Gerät verbauten Sensor zur Überprüfung schicken, und dieser Hash könnte auf dem Weg mitgehört werden. Wenn das dann der Hash eines "berechtigten" Fingers ist, hat man einen "Generalschlüssel" für das Zielgerät, den man jederzeit wieder an dieses senden könnte.
Um dieses dramatische Sicherheitsrisiko zu vermeiden, müsste ein zweiter Faktor ins Spiel gebracht werden. Das verlangt aber eine Interaktion mit dem Benutzer, und damit wäre das Konzept von Touch ID ad absurdum geführt.