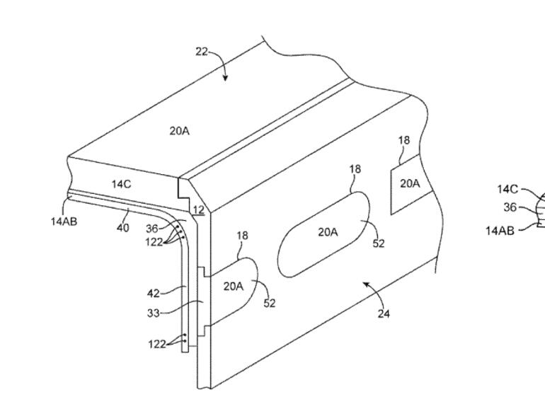
Das U.S. Patent mit der Nummer 8.723.824 beschreibt eine neue Displaytechnologie, die über den Rand hinaus Anzeigen auf dem gewölbten Teil der Seitenwände zulässt.
Apple forscht noch immer an einem perfektem „Rundum“-Display, das sowohl mit einem speziellen Plastik oder auch mit Glas denkbar wäre, heißt es in der Patentschrift. Diese Verlängerung des Displays ist aber nicht für eine Anzeige wie auf der Front gedacht, sondern soll vor allem Touch-Button zum Beispiel für die Lautstärkewahl beherbergen.
Das „Rundum“-Display soll damit eine erweiterte Touch-Bedienung ermöglichen und ein sehr viel schlichteres Design zulassen, da Apple auf Hardware-Knöpfe verzichten könnte.









Diskutiere mit!
Hier kannst du den Artikel "Apple forscht: Weitere Details zum iPhone mit „Rundum“-Display" kommentieren. Melde dich einfach mit deinem maclife.de-Account an oder fülle die unten stehenden Felder aus.
Ohne eine haptische Rückmeldung ist das aber Nonsens. Man muss zumindest blind ertasten können, wo sich ein Bedienelement befindet. Touchscreens haben nur wegen ihrer optischen Rückmeldung einen Sinn. Das ist bei den Knöpfen an. der Seite aber ziemlich unsinnig.
Ach komm, meistens dreht man auch jetzt bei den herkömmlichen Tasten das Gerät und schaut hin.
Und die optische Rückmeldung kriegst Du ja bei der Lautstärke eh auf dem Display.
Ich möchte dem ersten Kommentator Recht geben. Ich betätige die Lautstärkeknöpfe manchmal während des Telefonats, um die Gesprächslautstärke zu erhöhen. Das geht bei mechanischen Knöpfen mit ertasten. Bei Touch Buttons müsste ich dafür das iPhone vom Ohr nehmen.
Müsste man nicht. Funktioniert auf dem Harman/Kardon AURA auch bestens. Stell dir einfach (während du telefonierst) vor, dass ganz oben die Max Lautstärke ist und unten die Min. Und streiche mit dem Finger von oben bis nach unten oder umgekehrt und wo dein Finger bleibt (z.B. Mitte) so ist die Lautstärke. Und haptische oder visuelle Rückmeldung braucht man nicht, man hat akustische ;)
Nicht zu vergessen, all die Meetings in denen ich noch schnell mit dem Kippschalter auf leise stelle!!! Dieser Schalter war meiner Meinung nach einer DER Innovationen von 2007! Ohne Witz!
Ihr wisst doch noch gar nicht, wie das gelöst würde. Schreiben auf Touchscreens schien auch niemandem realistisch möglich zu sein. Ist es heute aber. Ganz zu schweigen von Telefonen mit Touch-Bedienung. Absolut unvorstellbar – und sogar unmöglich (behauptete z. B. Nokia). Das zeigt eher die Grenzen der Fantasie der meisten User, als der Technik.