Laut dem von AppleInsider entdeckten Patent hatte sich Apple bei der Entwicklung des Dock-Nachfolgers drei Hauptziele gesetzt: Zum einen sollte der Anschluss die Nachteile andere Anschlüsse überwinden – darunter deren Größe, unanfällig gegenüber Störungen sein und sich außerdem anständig und solide anfühlen.
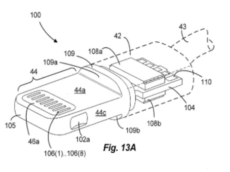
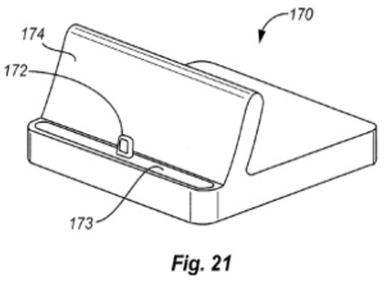
Um letzteres Ziel zu erreichen, enthält der Lightning-Anschluss kleine Kerben, die wiederum von flexiblen Halterungen innerhalb des Anschlusses festgehalten werden. Allerdings war auch die Ausrichtung für Apple ein wichtiger Faktor. Interessanterweise enthält der Patent-Antrag auch Bilder eines Lightning-Docks. Bisher bietet Apple ein solches Zubehör für das iPhone 5 noch nicht an.
Um das Ziel zu erreichen, dass der Stecker von beiden Seiten angesteckt werden kann, enthält der Lightning-Anschluss ein Modul zur Identifikation, der den Pins auf beiden Seiten des Steckers die richtige Funktion zuweist. Lediglich zwei Kontakte, der zur Identifikation sowie der für die Stromversorgung zuständige Pin, sind festgelegt. Beide Pins befinden sich diagonal gegenüber einander.
Laut einem der Patentanträge funktioniert die Festlegung der Funktion der einzelnen Kontakte folgendermaßen: Wird ein Lightning-Kabel angeschlossen, sendet das angeschlossene Gerät an ein Pin-Paar ein Signal. Je nachdem, welches der Pins ein Signal zurückgibt, wird im Anschluss eine Funktion zugewiesen. Dadurch kann das Kabel von beiden Seiten am iPhone, iPad oder iPod touch angeschlossen werden. Zudem ist der Identifikations-Chip imstande, die Datenübertragung zu verschlüsseln.
Angemeldet wurde das Patent für den „Dual orientation connector with external contact and conductive frame“ – dem „beiseitig ausgerichtetem Anschluss mit externem Kontakt und leitfähigem Rahmen“ bereits im November 2012.










Diskutiere mit!
Hier kannst du den Artikel "Patentanträge enthüllen die Details des Lightning-Anschlusses " kommentieren. Melde dich einfach mit deinem maclife.de-Account an oder fülle die unten stehenden Felder aus.
Warum wurde das Patent erst "im November 2012", also Monate nach Vorstellung des neuen Lightning-Connectors eingereicht?