Apple hat in den USA einen Patentantrag für einen universellen Magsafe-Anschluss auch für solche Steckersysteme eingereicht, die eigentlich dafür nicht geeignet sind wie beispielsweise die Lightning-Schnittstelle oder USB-C.
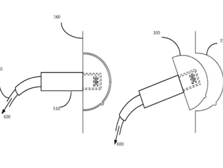
Die Steckerform oder die Buchse müssen bei Apple neuem MagSafe-System, das derzeit nur auf dem Papier existiert, keineswegs verändert werden. Vielmehr ist die Buchse nur magnetisch an dem jeweiligen Gerät befestigt und löst sich, wenn zuviel Zug ausgeübt wird. Das soll verhindern, dass beim Stolpern über ein Kabel das teure MacBook oder ein iPhone oder iPad zu Fall gebracht werden.
Diese Multifunktions-MagSafe-Anschlüsse haben nur einen gewaltigen Nachteil: Sie sind relativ groß, weil sie weit in die Gehäuse hineinragen müssen. So nehmen sie wertvollen Platz weg. Apple soll angeblich beim iPhone 7 vollkommen auf den 3,5mm-Klinkenanschluss verzichten, um mehr Platz für den Akku zu haben. Der Lightning-Anschluss soll gerüchteweise dann auch für Kopfhörer genutzt werden können. Mit den Magnethalterungen könnte Apple anderseits aber viele unnötige Sturzschäden verhindern und sich wieder einmal von vielen Konkurrenten absetzen, die auch keine Lösung für selbstlösende Kabelverbindungen hat.
Ob Apple das Patent allerdings in die Tat umsetzt und Produkte mit dieser Lösung auf den Markt bringt, ist allein aus der Anmeldung eines Patents nicht erkennbar. Viele Patente werden nur genutzt, um der Konkurrenz einen bestimmten Lösungsweg zu erschweren.
Apple hat den Patentantrag 20160093999 schon Ende September 2014 eingereicht. Er wurde erst jetzt veröffentlicht.
Über Kickstarter wurde der Magnetkabel-Adapter Znaps finanziert, der ein anderes Prinzip verfolgt. Es handelt sich um einen zweiteiliger Adapter. Ein Teil wird ins iPhone, iPad oder den iPod touch beziehungsweise dessen Lightning-Port gesteckt, der andere Teil des Adapters enthält einen Magneten und wird auf das Ladekabel gesteckt. So wird eine Verbindung ermöglicht, die bei Belastung getrennt wird.












Diskutiere mit!
Hier kannst du den Artikel "MagSafe für iPhones, iPads und das MacBook 12 - so könnte es funktionieren" kommentieren. Melde dich einfach mit deinem maclife.de-Account an oder fülle die unten stehenden Felder aus.
“Mit den Magnethalterungen könnte Apple anderseits aber viele unnötige Sturzschäden verhindern und sich wieder einmal von der Konkurrenz absetzen, die auch keine Lösung für selbstlösende Kabelverbindungen hat.“...
Vielleicht solltet ihr mal besser Nachforschen.. Sony bietet z.b. seit jahren genau diese Möglichkeit bei den Xperia Z Modellen!...Apple würde sich also nicht von der Konkurrenz absetzen, sondern lediglich gleichziehen..
Stimmt, Sony hat da eine Lösung.
ZNAPS kämpft immer noch mit den Tücken ihrer tollen Erfindung.
Es ist mehr als fraglich, ob das Produkt je in die Massenproduktion geht.