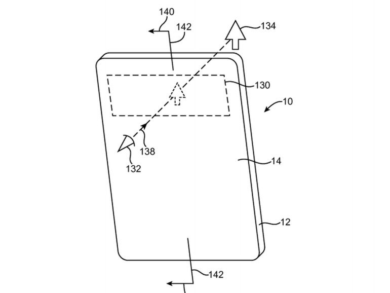
Ein iPhone, das einen Blick durch das Gehäuse erlaubt und so die Möglichkeit bietet, reale Welt und computergenierte Grafiken zu überlagen, steht im Mittelpunkt einer Patentanmeldung von Apple. Möglich macht das ein OLED-Bildschirm der nicht ganz durchgängig ist, sondern Gucklöcher bietet. Das US-Patent wurde von Apple Insider entdeckt.
Dabei werden einige Teile des Bildschirms durchsichtig wie ein Fenster, so dass das Licht von Außen durch das Smartphone betrachtet werden kann. Da sich ein Bildschirm davor befindet, kann wie bei einem Head-Up-Display die Ansicht überlagert werden. Beispielsweise beim Navigationssystem wäre das toll: Ein Pfeil könnte direkt auf der Straße anzeigen, wohin man laufen muss.
Die Patentschrift geht auch auf andere Möglichkeiten ein, die ein teildurchlässiges Display bieten könnte. So ließe sich hinter dem Display eine Kamera oder auch eine LED oder sogar Lautsprecher verstecken. Angeblich will Apple beim iPhone 8 ein sogenanntes rahmenloses Display verwenden, das sich bis zu den Rändern erstreckt. Wo finden dort die FaceTime-Kamera, der Lichtsensor, die Mikrofone und der Lautsprecher seinen Platz? Bei dieser Art von Display könnten zumindest einige Bauteile unter dem Glas sein. Transparente OLEDs existiert bereits.
Natürlich heißt das nicht, dass Apple nun auf jeden Fall so etwa bauen wird. Eine Patentanmeldung oder eine Patentzuteilung sind nicht unbedingt ein Hinweis auf ein geplantes Produkt oder einen Prototypen. Es zeigt vielmehr, mit was sich Apples Ingenieure beschäftigen und welche Möglichkeiten sie der Konkurrenz durch das Patent verbauen oder zumindest erschweren wollen.










Diskutiere mit!
Hier kannst du den Artikel "Durchsichtiges iPhone statt Computerbrille - ist das Apples Strategie?" kommentieren. Melde dich einfach mit deinem maclife.de-Account an oder fülle die unten stehenden Felder aus.
Patente, Patente, Patente. Und bei Apple passiert so oder so fast nichts.
Da gefällt mir der Weg von Elon Musk bei Tesla. Dieser veröffentlichte viele Patente, um die Akkuforschung voranzubringen (natürlich kann ich weder das eine noch das andere prüfen bzw. was dahinter steckt & muss mich auf die Nachrichten verlassen).