Apple hat neue Jobs auf seiner Webseite ausgeschrieben. Dem Inhalt der Stellenausschreibungen zufolge, will Apple ein neues Team aufbauen, dass sich auf Virtual Reality konzentrieren soll. Dabei sucht Apple offenbar sowohl Software- als auch Hardware-Ingenieure.
Einer der Jobs bei Apple ist für einen Senior Display Systems Engineer gedacht, der mit Software-Entwicklern, Elektronik-, und Hardware-Ingenieuren zusammen an Virtual-Reality-Hardware arbeiten soll. Die Aufgaben für diese Stelle deuten darauf hin, dass Apple noch am Beginn der Entwicklung eines Virtual-Reality-Geräts steht. Der Senior Display Systems Engineer soll unter anderem Hardware- und Software-Komponenten für eine Vielzahl von Virtual-Reality-Geräten designen und auswählen. Außerdem umfasst sein Aufgabengebiet die Zusammenarbeit und die Evaluierung in Frage kommender Display-Händler.
Eine weitere Stellenausschreibung deutet etwas genauer auf die Richtung hin, die Apple bei seinen Virtual-Reality-Geräten einschlagen will. Apple sucht unter anderem Mitarbeiter die sich mit der Bild-Synchronisation zwischen verschiedenen Geräte auskennen und Erfahrung mit Virtual-Reality-Geräten haben. Außerdem sollten die Bewerber Experten im Bereich niedriger Latency-Raten sein.
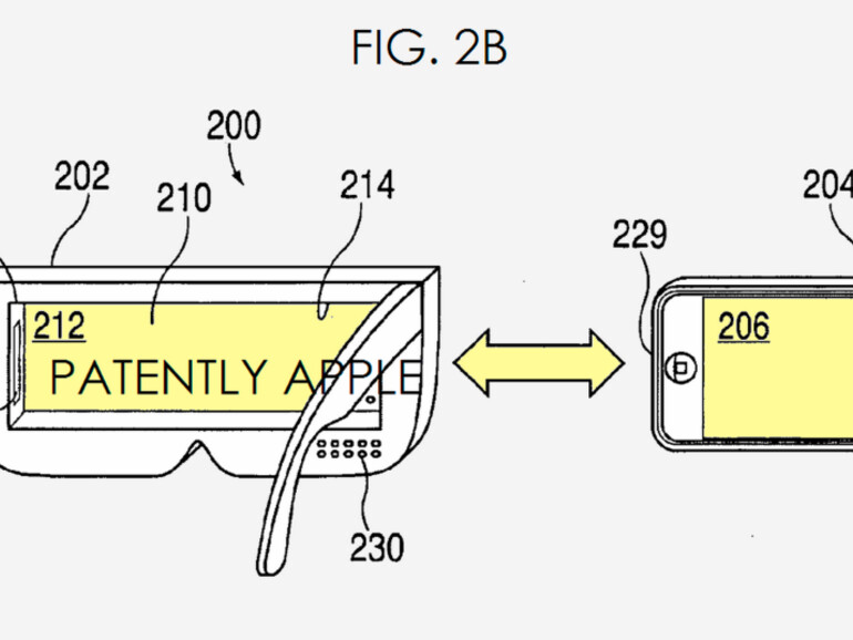
Erst vor einigen Tagen hat das US Patentamt dem Unternehmen ein Patent für eine VR-Datenbrille zugesprochen, das ein iPhone als Display nutzt – Ganz ähnlich wie Samsungs VR-Brille Gear VR, die in Kombination mit einem Galaxy Note 4 funktioniert.











Diskutiere mit!
Hier kannst du den Artikel "Apple baut Virtual-Reality-Abteilung auf: Patent kopiert Samsungs Gear VR" kommentieren. Melde dich einfach mit deinem maclife.de-Account an oder fülle die unten stehenden Felder aus.
"ein Patent zugesprochen, dass eine Virtual-Reality-Brille beschreibt, d..."
Schenke ein "das" her, wenn's wer braucht, einfach nehmen....
Die Überschrift dokumentiert die nachhaltige Rückverdummung des Autors.