Patently Apple wirft einen Blick auf eine lange Liste neu zugesprochener Apple-Patente für die USA. Dabei sind Touchpanels für Geräterückseiten, Eingabestifte und ein MacBook mit zwei Displays. Das letztere ist besonders interessant, denn das Patent beschreibt ein Gerät, das aus zwei mit einem flexiblen Scharnier verbundenen Displays besteht.
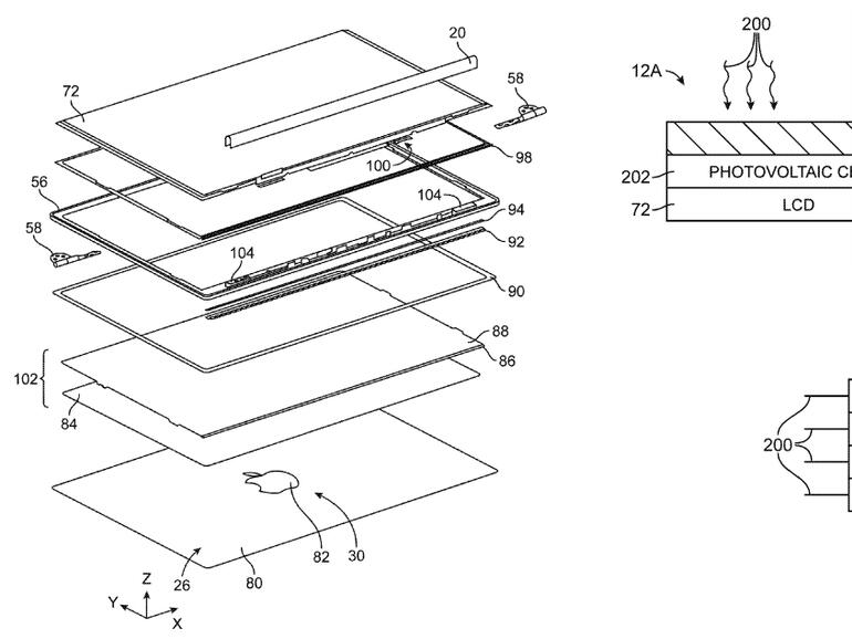
Dieses Notebook mit Doppel-Display ist zusätzlich noch mit einem Display ausgestattet, in dem Solarzellen integriert worden. Der Rechner dürfte somit für den mobilen Einsatz ein unschlagbares Argument mit bringen - seine eigene Stromquelle und damit 24-Stunden-Dauerbetrieb ohne an die Steckdose zu müssen.
Das Patent wurde bereit vor dreieinhalb Jahren eingereicht - und bisher ist noch kein Prototyp gesichtet worden.









Diskutiere mit!
Hier kannst du den Artikel "Apple-Patent beschreibt Solarzellen-Notebook mit Doppel-Display" kommentieren. Melde dich einfach mit deinem maclife.de-Account an oder fülle die unten stehenden Felder aus.
So eine integrierte Solarzelle macht ein MacBook Retina bestimmt auch wieder dicker, denn auf den Akku kann man bestimmt nicht verzichten (z.B. Nachts), was nicht zur aktuellen Entwicklungsrichtung von Apple passen würde.