Auf den ersten Blick sieht es so aus, als ob Apple mit dem iPhone in Konkurrenz zu den etablierten Navigationsgeräten treten würde um die Fähigkeiten des aktuellen iPhone 3GS zu nutzen: "Die errechneten Daten erlauben eine an den Benutzer angepasste Berechnung seiner voraussichtlichen Reisezeit, indem unter anderem seine Fahrgewohnheiten, die Eigenschaften des Fahrzeugs, Straßenverhältnisse, Wetterbedingungen und Verkehrslage in die Berechnung aufgenommen werden.", so der Text des Patentantrags. Das klingt nicht unbedingt nach einer eigenen Navigationssoftware, wie sie auch von AT&T in den Vereinigten Staaten gegen eine monatliche Gebühr bereit gestellt werden. Auch Navigon hat mit "MobileNavigator iPhone" eine eigene Lösung im Angebot, die Straßenkarten für Europa beinhaltet und komplett auf das iPhone geladen werden kann.
Dabei handelt es sich aber um Navigations-Lösungen, die dem Autofahrer die Routenplanung erleichtern sollen. Der Patentantrag von Apple zielt auf die Weiterverwertung einmal berechneter Routen, es ist also weiterhin auf die umfangreichen Karten der vorhandenen Navigationssysteme angewiesen und setzt auf deren Ergebnisse auf, so wie iTunes keine eigene Musik erstellt, sondern verwaltet.
Hintergrund dürfte auch sein, dass die aktuellen Mobilgeräte wie das iPhone zum Kommunizieren einfach viel zu schade sind und man Lösungen sucht, die die Vorteile der Geräte auch nutzen. Oder anders herum: Welche Informationen könnten auf einem iPhone sinnvoll sein? Eine individuellere Reiseplanung?
Bildnachweis: AppleInsider








Diskutiere mit!
Hier kannst du den Artikel "Patentantrag: Arbeitet Apple an einem eigenen iPhone-Navi?" kommentieren. Melde dich einfach mit deinem maclife.de-Account an oder fülle die unten stehenden Felder aus.
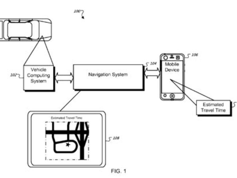
"Der Patentantrag beschreibt, wie die Reisezeiten und weitere Daten über ein Navigationssystem erfasst und auf einem zentralen Server gespeichert würden."
Das ist ja immerhin bequemer, als sich vor jeder Fahrt telefonisch bei Apple abzumelden und das Reiseziel anzugeben.
Never ever kommt so was auf irgendein Navi-Gerät, das ich benutze.
wenn man nichts zu verheimlichen hat.... wieso sollte man dann ein problem damit haben?
Google weiss sowieso wahrscheinlich schon wann ich zum kacken geh, deswegen ists mir auch wurst ob apple weiss wo ich einen döner hole...
Ich glaube der Anschluss ans Mobilfunknetz nützt dem Navi insofern auch viel weil es damit Infos über Staus, Baustellen usw abrufen und dadurch die "estimated travel time" genauer berechnen kann.