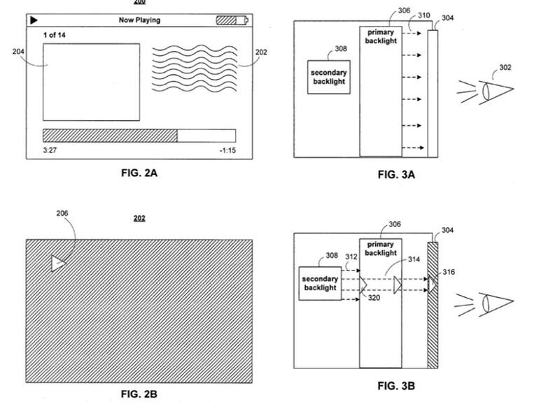
Momentan verriegelt sich das iPhone und schaltet das Display nach einer Weile automatisch ab, um Strom zu sparen. Möchte der Nutzer wissen wie viel Uhr es ist oder wie lange der Akku noch durchhält, muss er das Gerät aus dem Ruhezustand aufwecken. Ein 24-seitiger Patentantrag sieht vor, eine zweite Hintergrundbeleuchtung (Dual-Backlight) zu integrieren, die diese Informationen immer anzeigt. Diese sitzt hinter der normalen Beleuchtung und ließe sich eventuell durch besonders stromsparende OLEDs realisieren.
Durch diese Lösung könnte auch der Eingang neuer Nachrichten, E-Mails oder Anrufe angezeigt werden, ohne dabei die aufwendigere primäre Hintergrundbeleuchtung zu nutzen. Leider sind Patentanträge ein Haufen voller Ideen, ob und wann tatsächlich in ähnlicher Form fertige Produkte auftauchen, bleibt unbeantwortet.








