
Noch lassen sich keine Buttons auf dem Apple-Watch-Display erkennen. (Bild: Apple) 
Patentantrag 20140362020 - taktile Oberfläche für Touchscreens (Bild: US-Patent- und Markenamt) 
Patentantrag 20140362020 - taktile Oberfläche für Touchscreens (Bild: US-Patent- und Markenamt) 
Patentantrag 20140362020 - taktile Oberfläche für Touchscreens (Bild: US-Patent- und Markenamt)
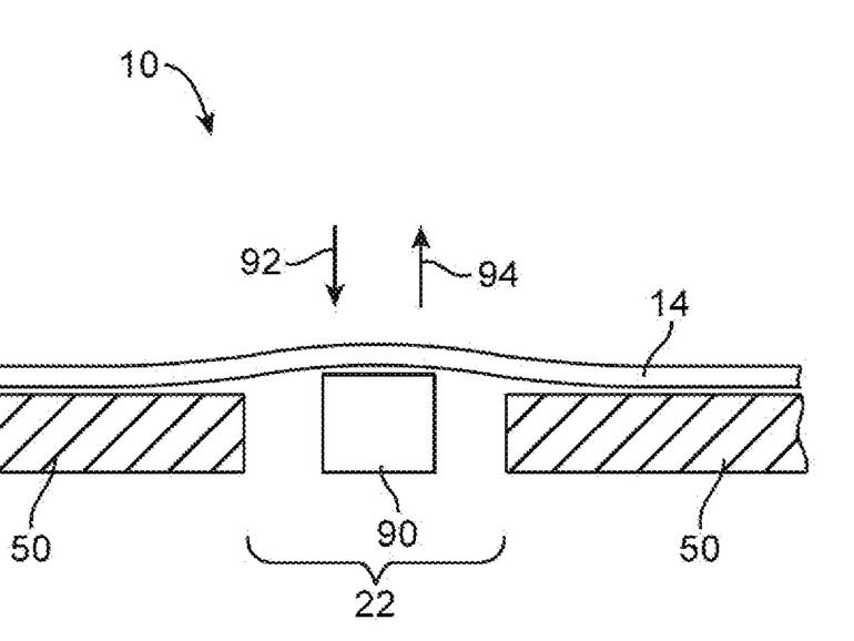
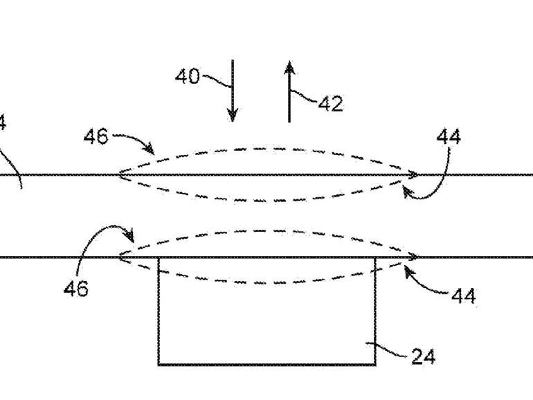
Touchscreens können in der Regel nur mit Sichtkontakt bedient werden und bei besonders kleinen Geräten verdeckt die Fingerspitze zudem große Teile des Displays. Würde es ertastbare (taktile) Knöpfe geben, die wie von Geisterhand auf der Bildschirmoberfläche auftauchten und wieder verschwinden, wäre das Problem weniger groß. Auch ein deutlich spürbarer Hinweis, dass eine Schaltfläche getroffen wurde, könnte schon viel helfen.
Ein US-Patentantrag von Apple zeigt ein solches Display. Es verformt sich, wenn es gedrückt wird. Winzige Aktoren unterhalb des Displays ermöglichen es auch, die Oberfläche an gewünschter Stelle zu heben - so entsteht ein Button oder etwas anderes Tastbares. Im Patent wird sogar ein Lautsprecher erwähnt, der unter dem Display sitzt und es zum Schwingen bringt und damit zur Tonerzeugung benutzt. Das würde auch den Bau wasserdichter Uhren erleichtern. Auf die gleiche Weise könnte auch ein Mikrofon gebaut werden.
Schon die jetzige Apple Watch besitzt ein druckempfindliches Display, das erkennt, ob der Benutzer leicht oder stark drückt. Diese Informationen ermöglichen neue Bedienungsschemen, die es beim iPhone nicht gibt. Die jetzige Apple Watch kann zwar auch vibrieren, aber nicht derart präzise, um einen Button zu simulieren.
Natürlich bedeutet ein Patentantrag keineswegs, dass Apple nun in seine Apple Watch 2 eine derartige Technik einbauen wird. Eine Vielzahl von Patenten wird niemals in ein konkretes Produkt umgesetzt. Der Patentantrag 20140362020 wurde Ende August 2014 eingereicht und erst jetzt veröffentlicht.











Diskutiere mit!
Hier kannst du den Artikel "Taktiles Feedback für Apple Watch 2" kommentieren. Melde dich einfach mit deinem maclife.de-Account an oder fülle die unten stehenden Felder aus.
Bis das kommt.....wird sicher mindestens 5 Jahre gehen....
Freue mich auf die TAG Heuer Uhr. Diese wird das taktile Feedback hoffentlich nicht künstlich, sondern in echt haben, da es immernoch mehr Uhr ist statt Gadget :-)
Das System mit auditivem Feedback haben wir in einem größeren Prototypen fürs Ipad schon gebaut hauptsächlich für Blinde :) Funktioniert ziemlich gut! :)
https://vimeo.com/101391322
Eine Anmerkung an die Redaktion: Mittlerweile nervt die Werbung auf dieser Seite extrem. Mir ist klar, dass ihr nicht ohne Werbung auskommt, aber muss das wirklich in diesem Umfang sein???? Die meisten Ads kann man nicht einmal vernünftig ausschalten, weil man versehentlich auf der Seite des Werbetreibenden landet.