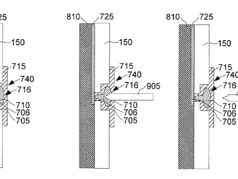
Der US-Patentantrag 20150357741 mit dem Titel "Electronic device with hidden connector" beschreibt Anschlüsse, die mit Elastomer-Dichtungen versehen sind. Wenn der Kopfhörerstecker herausgezogen wird, soll das gummiartige Material dafür sorgen, dass sich die Öffnung selbst verschließt. Dieses Prinzip soll natürlich auch beim Lightning-Anschluss genutzt werden.
Im Patentantrag wird die 3,5mm-Klinkenbuchse für den Kopfhörer mit der Lamellendichtung skizziert. Ob Apple dieses Prinzip künftig wirklich anwenden wird, ist nicht bekannt. In der jüngsten Vergangenheit hatte Apple aber schon diverse Patentanträge für Abdichtungen des iPhones eingereicht. Unter anderem wird eine hydrophobe (wasserabweisende) Chemikalie beschreiben, die auf die Elektronik des Smartphones aufgetragen wird. Dann wäre das Eindringen von Wasser unproblematischer: Kurzschlüsse und Korrosion sollen so vermieden werden.
Aktuelles iPhone 6s schon ziemlich wasserfest
Auch das aktuelle iPhone 6s scheint schon recht gut gegen das Eindringen von Wasser geschützt zu sein: Das Team von TechSmartt hat ein iPhone 6S eine Stunde ins Wasser gelegt. Der Stresstest bekam dem Gerät, das offiziell weder wasserdicht noch spritzwassergeschützt ist, offenbar recht gut. Nach 30 Minuten Baden funktionierte das iPhone 6s noch. Beim iPhone 6 hingegen war bei diesen Testern im vergangenen Jahr schon nach einer Minute Schluss und das iPhone ging nicht mehr.
Der Grund für die Wasserfestigkeit des iPhone 6s hat iFixit bei einem Teardown entdeckt. Apple hat einen Klebestreifen eingebaut, der auf der Innenseite des Gehäuses einmal rund um das iPhone 6s und das iPhone 6s Plus läuft. Der Klebestreifen sitzt genau an der Schnittstelle zwischen Display und Gehäuse und dichtet das Gerät somit gegen das Eindringen von Wasser ab.
Apple hat den Patentantrag mit den Elastomer-Dichtungen bereits im Juni 2014 eingereicht. Er wurde erst jetzt veröffentlicht.
Hüllen machen iPhones schon jetzt wasserdicht
Es gibt auch einige Anbieter wie frē, die iPhone-Hüllen anbieten, die das teure Smartphone wasserfest zu machen. Die Hülle für das iPhone 6/s kostet gerade einmal 80 Euro.








