Tippen wir künftig auf Tastaturen, die gar keine beweglichen Teile mehr besitzen? Viele können sich das sicherlich im Moment nicht vorstellen, weil die fehlende mechanische Rückkopplung fehlen würde, und der Anwender so kaum feststellen könnte, ob die Taste wirklich betätigt wurde. Dennoch hat Apple in den USA nun ein Patent für eine schalterlose Tastatur erhalten.
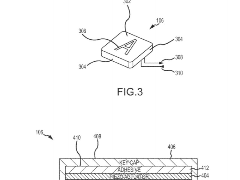
In jeder Tastenkappe befindet sich die Force-Touch-Technik, die beispielsweise von Apples Magic Trackpad 2 bekannt ist. Ein Sensor erfasst, wie stark die Taste gedrückt wurde und ein Aktoren erzeugt das haptische Feedback. Während beim Magic Trackpad 2 nur eine Sensorfläche eingebaut wurde, müssten bei der patentierten Tastaturtechnik pro Taste ein Drucksensor und ein Aktor eingebaut werden. Das dürfte den Preis deutlich in die Höhe treiben, hat aber einen gewaltigen Vorteil. Die Tastatur selbst könnte extrem flach und leicht gebaut werden - also genau das richtige für MacBooks.
Beim 12 Zoll großen MacBook und dem Magic Keyboard hat Apple bereits eine neue Tastaturtechnik eingebaut. Hier gibt es alledings noch mechanische Schalter. Wichtigstes Element ist eine Führung, die vereinfacht gesagt wie zwei Schmetterlingsflügel aussieht. Beim Niederdrücken wird er platt gedrückt und löst den Kontakt aus. Der Mechanismus ist großflächiger als eine traditionelle Scherenmechanik und verhindert, dass die Tasten an den Rändern kippeln. Wird die Taste beim neuen Modell gedrückt, bewegt sich ihre gesamte Oberfläche gleichmäßig nach unten.
Ob Apple wirklich ein Force Touch Keyboard entwickelt, ist aufgrund eines Patents nicht zu erkennen. Apple patentiert wie auch zahlreiche andere Unternehmen Erfindungen, die niemals auf den Markt kommen. Das US-Patent Nr. 9,178,509 wurde am 3. November 2015 veröffentlicht.







