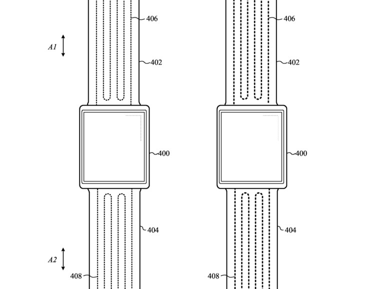
Wäre das nicht prima, ein Armband, das sich selbst „einstellt“? Apple testet offenbar entsprechende Möglichkeiten. Ein Mechanismus im Armband, der den Druck am Handgelenk auswerten kann, soll dabei helfen.
Am Dienstag veröffentlichte das US-Patent- und Markenamt einen Antrag Apples aus dem Jahr 2015, der nun positiv beschieden wurde. Als „Erfinder“ werden unter anderem Andrzej T. Baranski und Serhand O. Isikman genannt. Der Patentantrag beschreibt sowohl ein System als auch unterschiedliche Methoden zur dynamischen Anpassung des Armbands eines „Wearables“. Apple wollte sich offenbar nicht festlegen und so werden Möglichkeiten beschrieben, in denen der Spannungsmechanismus wahlweise im Gehäuse des Geräts oder aber im Armband selbst untergebracht ist. In einer Beispielanwendung wird dann auf ein Signal hin die Spannung im Armband vergrößert. Neben echt mechanischen Beispielen wurden auch solche mit Gasen und Flüssigkeiten erwähnt, deren Volumen sich ändern kann, vergleichbar mit einer Blutdruck-Messmanschette.
Armband könnte Probleme beheben
Es ist natürlich für den Träger der Apple Watch besonders bequem, wenn die Armbanduhr sich möglichst fest aber gleichzeitig nicht zu eng ans Handgelenk legt. Doch ein solcher Mechanismus, wie in dem Patent beschrieben, könnte nicht nur für mehr Tragekomfort sorgen, sondern zudem ein Problem der Smartwatch lösen. Der Pulsmesser auf der Rückseite funktioniert dann besonders gut, wenn die Uhr auch wirklich eng anliegt. Allerdings sind die meisten Armbänder mit Schnalle und Löchern im Band nicht dazu angetan wirklich bei jedem Kunden hundertprozentig zu passen. Entsprechend rutscht die Uhr ein wenig hin und her und sorgt so dafür, dass die Pulsmessungen ungenauer werden. Bei ordentlicher Anbringung – das haben Tests gezeigt – liefert der Pulsmesser in der Apple Watch äußerst gute Messwerte.








Diskutiere mit!
Hier kannst du den Artikel "Patent zeigt: Apple experimentiert mit sich selbst anpassendem Watch-Armband" kommentieren. Melde dich einfach mit deinem maclife.de-Account an oder fülle die unten stehenden Felder aus.
Sie sollten lieber mal gucken das sie das iPhone 8 mit ihrem aufgeplatzten Akku in den Griff bekommen sonst passiert denen das gleiche wie Samsung mit dem Note 7
Über sowas Berichtet ihr hier nicht. Das wäre ja eine negativ Schlagzeile das würde ja das Heilige Apple angreifen was ja so innovativ ist....... bzw. war ;-)
Tun wir nicht, nein? Vielleicht sollten Sie sich nicht so lächerlich machen. http://www.maclife.de/news/aufgeblaehter-akku-beim-iphone-8-plus-10096374.html
Das waren doch auch nur Einzelfälle bisher, oder hab ich was nicht mitbekommen?
Die Fälle häufen sich
Sechs Fälle, wovon auch noch welche, auf schon beschädigte Postlieferungen zurück gehen.
Ernsthaft...
Zum Thema: die Bildunterschrift ist falsch. Das Armband ist nicht anpassbar, wie fast alle Uhrenarmbänder es sind, sondern (selbst) „anpassend“! Genau DAS ist es ja, was dieses (potentielle) Armband so bsonders macht.