Apple hat wie es scheint ein großes Problem der Falt-Handys gelöst: Ein jetzt veröffentlichtes Patent enthüllt eine neue Akku-Technologie, mit der der Akku im Falt-iPhone einfach gleich mit gefaltet werden kann. Das Patent wurde Apple vor kurzem zugesprochen und verrät wieder neue Details von den Arbeiten an flexiblen Geräten beim iPhone-Riesen - das könnten sowohl faltbare iPads als auch klappbare iPhones sein. Beide Geräte könnten schon im kommenden Jahr auf den Markt kommen.
Mehr Apple-Wissen für dich.
Mac Life+ ist die digitale Abo-Flatrate mit exklusiven, unabhängigen Tests, Tipps und Ratgebern für alle Apple-Anwenderinnen und Anwender - ganz egal ob neu mit dabei oder Profi!
Mac Life+ beinhaltet
- Zugriff auf alle Online-Inhalte von Mac Life+
- alle digitalen Ausgaben der Mac Life, unserer Sonderhefte und Fachbücher im Zugriff
- exklusive Tests, Artikel und Hintergründe vorab lesen
- maclife.de ohne Werbebanner lesen
- Satte Rabatte: Mac, iPhone und iPad sowie Zubehör bis zu 15 Prozent günstiger kaufen!
✔ SOFORT gratis und ohne Risiko testen: Der erste Monat ist kostenlos, danach nur 6,99 Euro/Monat.
✔ Im Jahresabo noch günstiger! Wenn du direkt für ein ganzes Jahr abonnierst, bezahlst du sogar nur 4,99 Euro pro Monat.
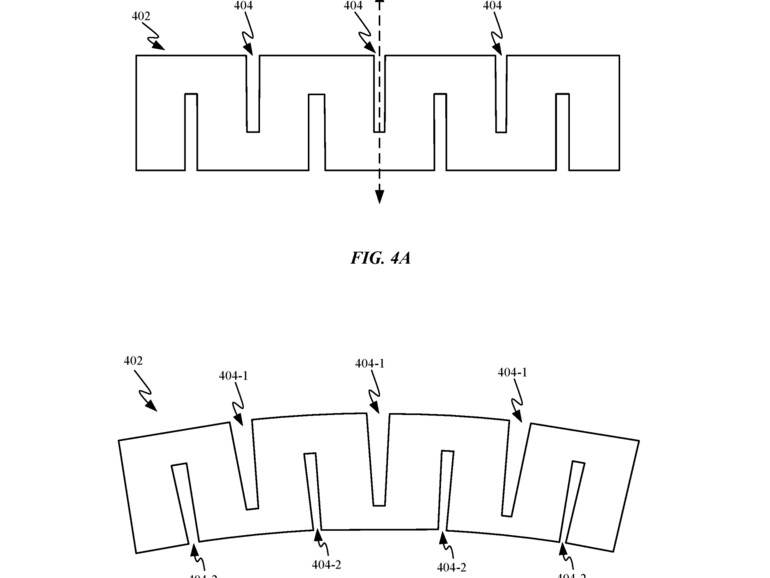
Flexibles Design - auch beim Akku
Die vorgestellte Akku-Neuentwicklung ist dabei biegsam und kann damit extra dünn realisiert werden. Sie besteht aus mehreren Blöcken, die in alle Richtungen flexibel verschiebbar sind. Somit nimmt die Batterie für das Falt-Gerät nicht viel Platz in der Höhe ein - Apple kann dann ein ganz schlankes Design für das Falt-iPhone realisieren, welches auch im zusammengeklappten Zustand noch annehmbar wäre.
Zum Vergleich: Das Samsung Galaxy Fold und das Z Flip messen im zusammengeklappten Zustand runde 1,7 Zentimeter - viel zu viel, wie Nutzer kritisieren. Das iPhone 11 Pro ist dabei rund 8,1 Millimeter dick. Für ein schlankes Falt-iPhone müsste Apple also die Technik noch deutlich dünner hinbekommen.
Bisher hat sich Apple im neuen Segment der Falt-Geräte zurückgehalten. Microsoft, Huawei und Samsung haben dagegen bereits falt- oder klappbare Tablets und Smartphones vorgestellt. Sie alle haben aber mit Kinderkrankheiten zu kämpfen. Im Praxistest fällt zumeist zuerst das Display durch. Die Oberflächen sind nicht stabil genug, um viele Falt-Vorgänge unbeschadet zu überstehen. Auch dafür hatte Apple bereits Patente eingereicht.

Apple iPhone 11 (128 GB) - Gelb (inklusive EarPods, Power Adapter)




