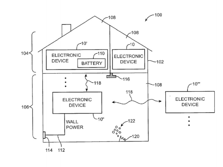
Wie jetzt öffentlich bekannt wurde, hat Apple im Mai 2013 ein neues Patent angemeldet, das sich unter anderem auf vernetzte Rauchmelder bezieht. Apple plant diesem Dokument zufolge Rauchmelder herzustellen oder herstellen zu lassen, die mit dem iPhone oder Mac kommunizieren können. Dabei ist es unerheblich ob sich das gekoppelte Gerät im Wi-Fi-Netz befindet oder nicht. Nur der Rauchmelder selbst muss mit dem Wi-Fi-Netz verbunden sein. Bei einer Rauchentwicklung kann der Rauchmelder dann das mit ihm gekoppelte Gerät, vermutlich über die iCloud, alarmieren. Der Rauchmelder kann auch direkt die Feuerwehr alarmieren, wenn der Besitzer dies wünscht.
Der Rauchmelder wäre dem Patent zufolge auch mit Bewegungssensoren und GPS ausgestattet. Das Gerät ist damit unter anderem in der Lage festzustellen, ob sich der zu alarmierende Nutzer in dem betroffenen Gebäude befindet und sich selbst um die Rauchentwicklung kümmern kann, oder ob der Rauchmelder die Feuerwehr alarmieren muss. Außerdem kann der Rauchmelder feststellen, wie viele Menschen sich in dem brennenden Gebäude befinden.
Das Patent ist Teil von Apples Heimautomatisierungs-System HomeKit. Im Gegensatz zu den anderen Heimautomatisierungs-Funktionen, die in erster Linie das Leben des Anwenders erleichtern sollen, und bisher mehr als Spielerei gelten, steht der Sinn des vernetzten Rauchmelders außer Frage - schließlich kann er Menschenleben retten.









Diskutiere mit!
Hier kannst du den Artikel "HomeKit: Apple arbeitet an einem vernetzten Rauchmelder" kommentieren. Melde dich einfach mit deinem maclife.de-Account an oder fülle die unten stehenden Felder aus.
Eigentlich doch eine gute Idee. Wenn man es genau nimm könnte man doch in AirportStationen, AppleTv und Co passende Sensoren einbauen gerade W-Lan Stationen sind doch in Häusern und Wohnungen gut verteilt.
Wann kommt eigentlich der Sensor den ich mir in den A..... schieben kann und mich vor unerwarteten Blähungen warnt. Man Leute brauchen wir den Kram wirklich. Es ging doch alles bis jetzt auch ohne und die Menschen waren glücklich. Apple soll sich lieber um seine Software kümmern und endlich diese von vorhandenen Fehlern befreien.
Ja es ging auch ohne, so wie die Menschen auch glücklich waren als es keine Elektrizität gab, das Feuer noch nicht entdeckt war oder es keine Waschmaschine gab. Dennoch wollen heutzutage die meisten diese Errungenschaften nicht missen.
Glücklich? Die Menschen? Meinen Sie die Menschen die im Schlaf erstickt sind oder die Menschen die von den Flammen eingekreist wurden?
Die Sensoren für Ihren A... gibt es schon! Vielleicht bräuchte es eher einen Sensor im Hals, der vor unüberlegten Ergüssen warnt.
Immer mehr Features. Blähungen mit üblen Folgen für das OS. Geht wohl nicht anders....
dumm nur, wenn es zuerst in dem Raum brennt wo der Router steht.....
noch dümmer, wenn das iPhone brennt!