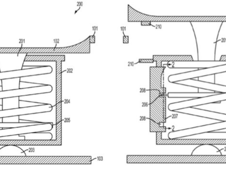
Der Homebutton des iPhone/iPod Touch oder des iPads soll künftig auch als Joystick verwendet werden. Dazu müsste erst einmal der Knopf etwas verändert werden. Laut einem Patentantrag von Apple, der schon im Jahr 2013 gestellt aber erst jetzt veröffentlicht wurde, ließe sich der Button durch sanften Druck herausfahren aus dem Gehäuse. Der nun erhabene Knopf soll zu den Seiten hin kippbar sein, was so etwas wie einen Minijoystick ergibt.
Eigentlich wäre das eine praktische Sache - die man ja auch von einigen Gamepads von Spielkonsolen her kennt. Wer aktuell mit dem Geräten spielen will, nimmt dazu entweder den Touchscreen und verdeckt mit seinen Fingern regelmäßig einen Teil des Bildschirms oder schließt per Bluetooth eine Gamepad an. Das dürfte gerade unterwegs aber schon etwas abstrus sein - wer schleppt ein externes Pad schon zusammen mit dem iPhone oder gar dem iPad in die S-Bahn oder den Bus?
Hier wäre ein Homebutton, der sich zum Joystick umbauen lässt, sicherlich eine willkommene Abhilfe. Am iPhone kann man ihn auch ganz gut erreichen, während man das Telefon quer hält.
Trotz aller Euphorie, die den einen oder anderen iPhone-Hardcorespieler nun angesichts des Patentantrags 20150015475 befallen mag: Ein Großteil der Patente und der Patentanträge von Apple aber auch von anderen Firmen wird niemals in die Realität umgesetzt sondern dient - im Falle einer Patenterteilung - oft nur dazu, die Konkurrenz von bestimmten Konstruktionen abzuhalten.









Diskutiere mit!
Hier kannst du den Artikel "Homebutton soll zum Joystick mutieren" kommentieren. Melde dich einfach mit deinem maclife.de-Account an oder fülle die unten stehenden Felder aus.
Deshalb glaub ich auch nicht an ein faltbares iphone .
Siri aktivieren, Bedienunhshilfen erreichen, Screenshots machen fällt noch jemanden was ein?
.
So einen Joystick - Nippel gab es schonmal bei den alten
Compaq - Notebooks mit DOS und Win96 . . . .
und?
Booten! ;)