Nachdem Google die Augmented-Reality-Brille Google Glass nicht mehr verkauft, ranken sich Gerüchte über einen verbesserten Nachfolger, der womöglich unter dem Namen Project Aura entwickelt wird. Nun ist das Patent US 9,195,067 B1 von Google aufgetaucht, das mit seinen Zeichnungen mehr Einblicke bietet, wie Google Glass 2.0 aussehen könnte. Dabei verzichtet Google auf das klassische Brillendesign mit zwei Gläsern und zeigt eine Variante, die weniger auffällig ist und das Mikrodisplay mit Hilfe eines Headsets, das am Kopf getragen wird, vor das linke Auge gehalten wird. Das schaut ein wenig so aus wie ein Monokel, auch wenn auf das runde Brillenglas zugunsten des Mikrodisplays verzichtet wird.
Der große Vorteil von Google Glass 2.0 wäre allerdings, dass es nicht nur Brillenträger ansprechen und wohl auch weniger auffällig wäre. Zudem werden große Teile des Gesichts nicht bedeckt und auch ein Ausbalancieren der gar nicht so leichten Technik auf der Nase wäre überflüssig.
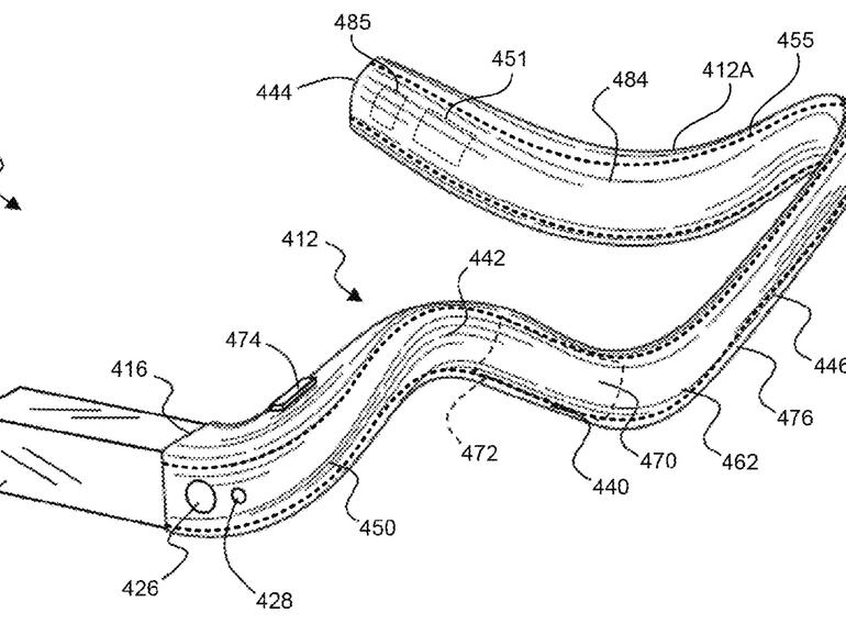
Das Konzept aus dem Patentantrag sieht vor, dass Google Glass am Hinterkopf und am linken Ohr befestigt wird und sich auf der Schläfe abstützt. Das sieht eigentlich aus wie ein verrutschtes Headset, das nicht am Mund sondern vor dem Auge endet.
Übrigens: Die verhasste Kamera von Google Glass ist auch in Version 2.0 vorhanden. Sie war es, die für eine ablehnende Haltung der Öffentlichkeit gesorgt hatte, weil der Benutzer unerlaubt und vor allem ständig filmen und fotografieren könnte.
Von Google gibt es noch keine detaillierten Informationen zum Google-Glass-Nachfolger. Nach einem älteren Bericht von Business Insider vom September 2015 arbeitet Google mit der Forschungsabteilung Project Aura an einem Nachfolger, wobei ein Modell mit und eines ohne Display entwickelt werden sollen.








