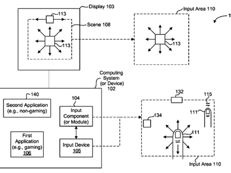
In einem von der kalifornischen Firma im September letzen Jahres eingereichten Patentantrag wird eine mögliche Gestaltung dieser neuen Eingabemöglichkeiten beschrieben: Da auf den kleinen Bildschirmen mobiler Multitouch-Geräte naturgemäß wenig Platz für mehrere Programme ist, werden durch unterschiedliche Eingabearten verschiedene Applikationen angesteuert.
Die Unterscheidung kann dabei nach Art der Eingabe, nach der Druckintensität, der Zahl der aufgelegten Finger oder dem Bereich der Eingabe stattfinden. So wäre es beispielsweise möglich, ein Spiel im Vollbildmodus durch linienförmige Bewegungen und Antippen zu steuern, während man mit der Geste eines Kreises den nächsten Titel des Musikplayers anwählt oder diesen durch Drücken pausiert. Eine solche Steuerung böte eine deutlich intuitivere und flexiblere Eingabe, so Apple in dem Patentantrag, da die zu steuernden Elemente nicht mehr auf dem Bildschirm angezeigt werden müssten - eine kleine visuelle Bestätigung der Eingabe genüge.
Somit können im Hintergrund befindliche und nicht sichtbare Applikationen auf dem beschränkten Bildschirmplatz von mobilen Geräten bedient werden - Apple bezieht sich in dem Patentantrag besonders auf die eigenen Geräte mit Touch-Screen. Dass Apple bei Einführung von Spielen für iPhone und iPod touch eine solche Funktionalität per Firmware-Update - möglicherweise zeitgleich mit der Veröffentlichung des angekündigten Entwicklerkits für Drittanbietersoftware - hinzufügt, erscheint auch gar nicht so unwahrscheinlich. Eine ähnliche Funktion setzt Apple beim iPhone ja bereits erfolgreich ein: durch Doppelklick des Home-Knopfes werden - unabhängig vom gerade aktiven Programm - rudimentäre Steuerungsoptionen für den integrierten iPod angezeigt.







