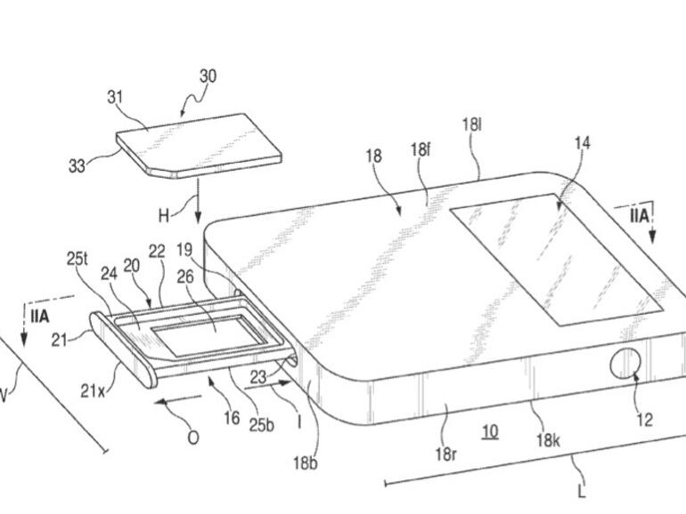
Die Patentschrift mit der Nummer 20130267106 zeigt einen Auswerfmechanismus, der das jetzt noch übliche Werkzeug zur Öffnung des SIM-Slots überflüssig macht. Nach der Idee würden dann anstelle von mechanischen Clips, die den SIM-Karten-Tray halten, einfach magnetische Halterungen eingesetzt. 
Vorteil wäre es unter anderem, so die Aussage in der Patentschrift, dass der iPhone-Besitzer keine mechanische Gewalt aufwenden müsste, um das Gerät zu öffnen, und so mögliche Störstellen für Defekte vermieden werden. Zum anderen hat das magnetische System den Vorteil, dass der SIM-Slot komplett verschlossen werden kann: Es gäbe nicht mehr wie aktuell beim iPhone bekannt ein kleines Löchlein, das wiederum auch anfällig ist, Schmutz sammelt oder gar Feuchtigkeit einlassen kann. Der mechanische SIM-Tray gehört mit zu den häufiger ausgetauschten Kleinteilen am iPhone, da es vorkommt, das der Haltemechanismus durch häufige Nutzung quasi ausleiert und nicht mehr fest und gerade verschließt.
Außerdem wäre es mit dem neuen System wiederum denkbar, noch kleinere SIM-Karten einzusetzen. Die ganze Einheit, in der die SIM-Karte sitzt, könnte kleiner werden. Das neue Patent beißt sich allerdings mit dem häufig für das iPhone diskutieren festen SIMs und anderen SIM-Patenten, die Apple bereits hält. Das Patent ist also kein Hinweis darauf, woran Apple für die nächsten iPhone- und iPad-Generationen arbeitet.
Das Patent wurde im vergangenen Jahr eingereicht und kann als PDF runtergeladen werden (Download 1,1 MB).








