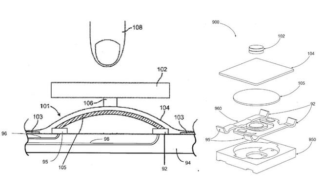
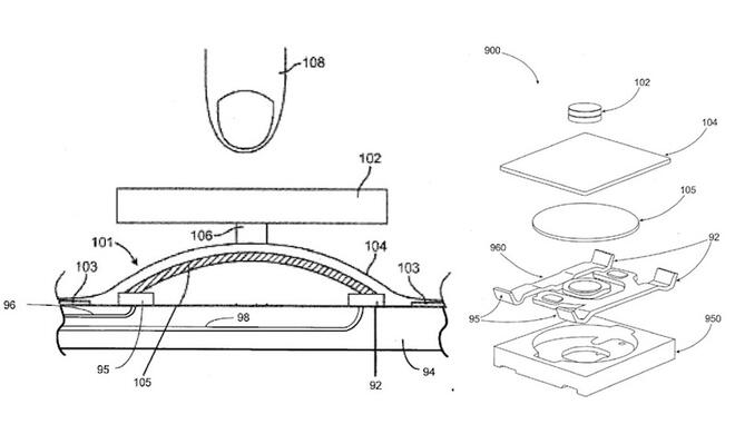
Apple-PläneGeheim: Homebutton künftig aus Liquid-Metal Apple hatte im Sommer 2015 schon das zweite Mal seine Exklusivrechte für die Verwendung von Liquid Metal verlängert. Mittlerweile ist klar, wofür Apple das...
Superdünne Bauweise Saphirglas trifft LiquidMetal: Apple erhält Patent auf neuartiges iPhone-Gehäuse Schon vor sechs Jahren hat Apple ein Patent eingereicht, in dem ein vollkommen neuartiges iPhone-Gehäuse durch die Kombination der beiden Spezial-Materialen...
Forschung geht weiterApple sichert sich Liquidmetal-Exklusivität bis 2015 Die Metalllegierung Liquidmetal bleibt auch weiterhin für Apple interessant: Der iPhone-Hersteller hat den Vertrag mit Liquidmetal Technologies verlängert und...
Patentanträge zeigen EinsatzgebieteWofür will Apple die Liquidmetal-Legierung nutzen? Über den Einsatz von Liquidmetal beim iPhone wird seit über fünf Jahren fleißig spekuliert. Apple hatte bereits bei einem Prototyp vom iPhone 3G im Jahr 2008 mit...
Hinweis auf iWatch?Liquidmetal: Apple erhält Patent auf optimierten Fertigungsprozess Apple erhält ein Patent auf einen optimierten Fertigungsprozess für Liquidmetal – amorphe Metall-Legierungen – zugesprochen. Eingesetzt werden könnte Liquidmetal...
Nachricht an InvestorenLiquidmetal-CEO bekräftigt: Material ist Teil zukünftiger Apple-Produkte Es gibt Technologien, die Wunder versprechen, angeblich morgen verfügbar sind und dann für Jahre verschwinden. Das Liquidmetal dazu nicht gehört, versucht CEO...
Neuer Werkstoff vorerst für KleinteileLiquidmetal: Weitergehende Nutzung durch Apple vermutlich erst in einigen Jahren Liquidmetal gehört wie OLED zu den Buzzwords, wenn es um zukünftige Apple-Produkte geht - ganz sicher sollen beide im nächsten iPhone oder MacBook zum Einsatz...