
Ausklappbare Stoßfänger an den Rändern des Displays (Bild: US-Patent- und Markenamt) 
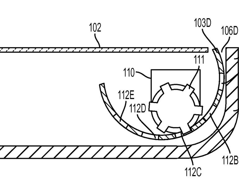
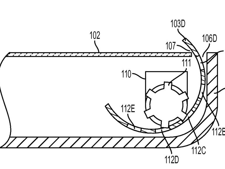
Der Mechanismus zum Ein- und Ausfahren der Stoßdämpfer. (Bild: US-Patent- und Markenamt) 
Der Mechanismus zum Ein- und Ausfahren der Stoßdämpfer. (Bild: US-Patent- und Markenamt) 
Ausklappbare Stoßfänger an den Rändern des Displays sollen Displayschäden bei Stürzen verhindern (Bild: US-Patent- und Markenamt)
Frei nach dem Motto "Was keinen Kontakt hat, kann auch nicht kaputt gehen" will Apple künftige iPhone-Generationen vor einem teuren Display-Bruch schützen, in dem den Geräten winzige Abstandhalter oder Stoßdämpfer eingebaut werden.
Diese Abstandhalter sollen blitzschnell ausfahren, sobald das Gerät merkt, dass es zu Boden fällt. Die Idee hat Apple im April 2014 beim US-Patent- und Markenamt eingereicht. Im Antrag wird sie als "Aktiver Displayschutz für elektronische Geräte" betitelt.
Die Stoßdämpfer sollen nicht etwa wie beim Auto aus pneumatischen Elementen und Federn bestehen sondern aus Kunststoff, Metall oder Verbundwerkstoffen wie Karbon. Mit kleinen Motoren werden die Abstandhalter während eines Sturzes herausgeklappt. Dadurch soll beim Einschlag verhindert werden, dass das Glas Kontakt mit dem Boden bekommt.
Übrigens: Apple will nach dem Sturz die Sicherheitsstifte auch wieder einfahren. Dennoch dürfte es bei dieser Idee zu einigen Problemen kommen. Die Beinchen dürften auch im eingeklappten Zustand an der Gehäuseoberfläche sichtbar sein, was der Ästhetik im Wege steht. Außerdem dürfte es dann noch schwerer werden, das iPhone gegen Wasser und Staub abzudichten. Und schließlich trifft ein fallendes Smartphone nicht immer auf einer ebenen Oberfläche auf, wenn es fällt. Sternchen, Bordsteinkanten und Möbelecken lassen sich mit Abstandhaltern aber kaum bremsen, punktuell die Glasoberfläche des Displays zu berühren.
Natürlich bedeutet ein Patentantrag nicht, dass Apple tatsächlich ein solches Produkt entwickelt. Im Gegenteil - eine Vielzahl von Patenten wird niemals in konkrete Produkte oder Anwendungen umgesetzt.
Apple hatte den Patentantrag 20150301565 "Active Screen Protection For Electronic Device" im April 2014 eingereicht. Er wurde erst jetzt veröffentlicht.










