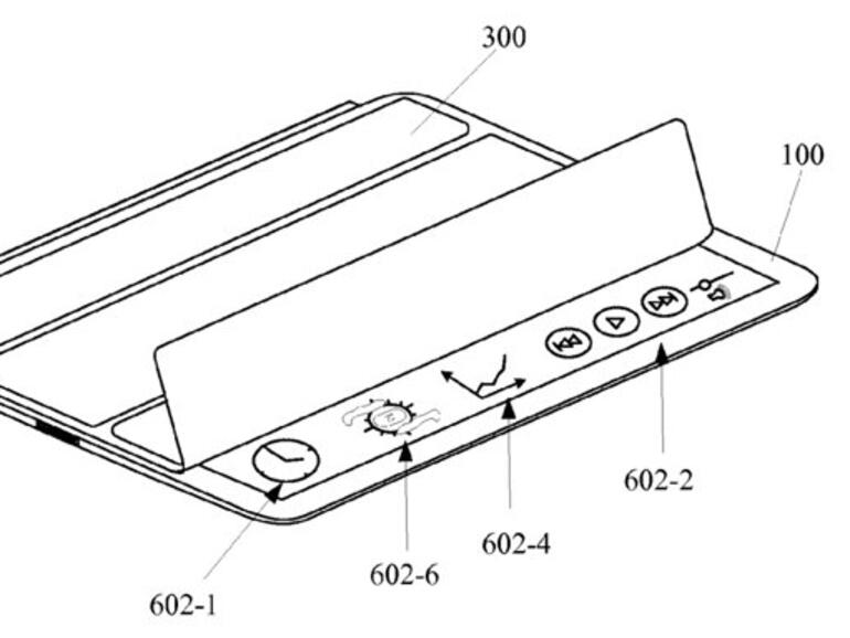
Apple überlegt offenbar das Smart Cover des iPad stärker zu nutzen. Das iPad soll erkennen können, wie das Smart Cover positioniert ist. Basierend auf dieser Positionierung soll das iPad dem Nutzer bestimmte Informationen, zum Beispiel das Wetter, anzeigen können. Außerdem soll das Tablet dem Anwender Bedienmöglichkeiten wie die Steuerung der Lautstärke bereit stellen.
Der Anwender kann das Smart Cover komplett oder an einer von drei Stellen teilweise zurück klappen. Abhängig davon welchen Teil des Displays das Smart Cover einsehbar lässt, zeigt das iPad verschiedene Dinge an. Apples Patent-Zeichnungen geben für das erste Viertel des Displays lediglich Symbole, zum Beispiel eine Uhr, an. Verdeckt das Smart Cover nur die Hälfte des Displays, könnte das iPad den Zeichnungen zufolge kurze Texte, zum Beispiel Tweets, darstellen.
Apple nennt diese Anwendung „Device Input Modes With Corresponding User Interfaces“. Die Anwendung behandelt jedoch nicht nur das Verhalten des Tablets abhängig von der Positionierung des Smart Covers. Es beschreibt auch eine Gestensteuerung. Anwender könnten zum Beispiel mit einer Geste die Bildschirmhelligkeit des iPads regeln, wenn das Smart Cover nur zu einem Viertel weggeklappt ist.
Das iPad könnte durch diese Nutzungsweise des Smart Covers Energie sparen, da nicht immer das komplette Display beleuchtet sein muss. Außerdem könnte Apple langfristig auf die physischen Knöpfe für die Regelung der Lautstärke verzeichten, wobei hier wiederum das Problem besteht, dass iPad-Nutzer ohne Smart Cover auf das gegebenfalls hinter dem Sperrcode verborgene Kontrollzentrum ausweichen müssen, um die Lautstärke zu regulieren.











Diskutiere mit!
Hier kannst du den Artikel "Smart Cover: Revolutioniert Apples neues Patent die Bedienung des iPads?" kommentieren. Melde dich einfach mit deinem maclife.de-Account an oder fülle die unten stehenden Felder aus.
Kindergarten und völliger Blödsinn. Um Strom zu sparen, einziges wirkliches Argument, könnte man auch Teile des Bildschirmes zeitgesteuert abschalten, nicht wahr und das könnte man dann auch noch individuell konfigurieren. Ups, müsste ich diese Idee jetzt patentieren lassen?
Blödsinn
Blödsinn finde ich eigentlich nur Dein Kommentar. Zeitgesteuert ???
Jetzt Überlege doch noch mal Richtig. Man nutzt nur unten rechts die Musiksteuerung, alles andere hast Du Zeitgesteuert abgeschaltet. Und auf einmal möchtest Du was anderes machen, wozu man das Cover weiter öffnen musst. Kannst Du aber nicht da es ja Zeitgesteuert abgestellt ist !!!
Und merkst Du was ???
Lass es nicht Patentieren, die Lachen Dich nur aus.
Hirn einschalten, zuerst nachdenken und dann Schwatzen, gell, vor allem wenn man das Wort zeitgesteuert nicht richtig deuten kann! Was macht denn ein Bildschirmschoner? Was man ausschalten kann kann man auch wieder, ja, ja, sag's! Also warum klappen, wenn es auch, ganz nach Steve Jobs, auch mit den Fingern gehen würde? Und jetzt, merkst du was?!
Du hast es immer noch nicht Verstanden. Bringt wohl auch nichts es Dir zu erklären. Wie Major schon geschrieben hat, Du hast wohl kein eigenes iPad. Nicht schlimm, hast ja hier mitgeschrieben und was abgelassen und das ist doch Toll für Dich. Hast Du schön gemacht :-)
Blödsinn
@Tomy
Vermutlich hast Du kein iPad, sonst wäre Dir bekannt, dass der Bildschirm sich schon heute zeitgesteuert ausschalten lässt.
Letztlich würde dennoch weniger Energie verbraucht, wenn der Bildschirm nur partiell ein paar Bedienelemente einblendet und nicht komplett beleuchtet werden muss.
Apropos beleuchtet...
Zu spät! So was (ähnliches) gibt's schon! Und das ausgerechnet von Samsung! Galaxy Note Edge! :-))
Interessesiert nur, wenn die ein patent drauf haben. haben sie? möglich, aber darüber liest man nichts, und warum? weil samsung langweilig und zu wenig smiley ist.