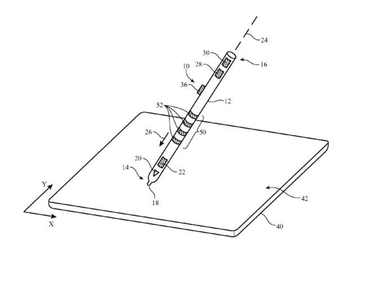
Apple hat vom US-Patentamt ein neues Patent erhalten, das auf neue Funktionen des übernächsten Apple Pencils hindeutet. Das Patent beschreibt einen Stylus mit Touch-Sensoren am Stift selbst. Das Unternehmen könnte somit eine ganze Reihe verschiedener Bedienelemente im Apple Pencil 3 verbauen. Diese kapazitiven Touch-Sensoren wären herkömmlichen Buttons enorm überlegen. Denn einerseits könnte Apple auf diese Weise sehr viele Funktionen auf dem Stylus unterbringen, die von den Nutzern möglicherweise sogar frei belegt werden können. Andererseits wären die verschiedenen Buttons für unterschiedliche Griffe am Stift von Vorteil.
Denn nicht jeder hält einen Stift auf die gleiche Weise. Die Touch-Buttons wären dann aber auch bei unterschiedlichen Fingerhaltungen immer leicht zu erreichen. Außerdem könnte der Apple Pencil 3 dann automatisch erkennen, ob der Stift von einem Links- oder Rechtshänder gehalten wird und somit ganz einfach automatisch das Nutzer-interface auf der Schreibunterlage, beispielsweise einem iPad Pro 2, anpassen.
Apple Pencil 3 kommt frühestens in 2017
Außerdem würden Nutzer eines Apple Pencils mit rundumlaufenden Touch-Sensoren diverse neue Eingabemethoden bieten. So könnten Nutzer mit dem Finger den Stift entlangfahren und damit eine Aktion auslösen. Außerdem könnte eine „3D Touch“-Funktion dafür sorgen, dass Nutzer die Finger zusammendrücken und damit ein Objekt, zum Beispiel eine App, „aufheben“ und via Drag and Drop verschieben.









