
Apple-Patent für eine VR-Lösung in selbstfahrenden Fahrzeugen (Bild: Apple / USPTO) 
Apple-Patent für eine VR-Lösung in selbstfahrenden Fahrzeugen (Bild: Apple / USPTO) 
Apple-Patent für eine VR-Lösung in selbstfahrenden Fahrzeugen (Bild: Apple / USPTO) 
Apple-Patent für eine VR-Lösung in selbstfahrenden Fahrzeugen (Bild: Apple / USPTO)
In welche Richtung sich das Apple-Car-Projekt entwickelt ist nicht eindeutig. Allerdings dringen immer mal wieder Details ans Tageslicht. Mal ist es eine Flotte selbstfahrender Fahrzeuge, die Apple-Mitarbeiter zwischen den Standorten der Firma im Silicon Valley pendeln lassen soll. Dann soll sich das iPhone in Zukunft als Autoschlüssel nutzen lassen und jetzt geht es im Bericht bei Variety um Mark Rober. Der durch seinen YouTube-Kanal bekannt Tüftler wird als Erfinder.
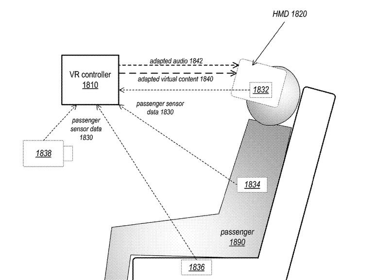
Als Immersive Virtual Display wird in der US-Patentschrift ein System von Bildschirmen bezeichnet. Der Patentbeschreibung ist zu entnehmen, dass diese VR-Bildschirmsystem der als Reisekrankheit bekannten Übelkeit im Auto vorbeugen soll. Reale und virtuelle Elemente sollen gleichzeitig gezeigt werden, um dem Fahrgast im sich bewegenden Fahrzeug eine angenehme Fahrt zu gestatten.
Gleichzeitig ist in den Grafiken der Patentschrift aber auch ein VR-Headset zu sehen. Das könnte eine mittelschwere Sensation sein, weil sich somit bestätigt, dass Apple an einem VR-Headset arbeitet. Das Patent wurde im September 2017 eingereicht, im bereits im März erteilt und veröffentlicht. Aber erst jetzt kann Variety die Verbindung zu Apple herstellen.
Seinem Profil bei LinkedIn zufolge arbeitet Mark Rober für eine Firma, die er nicht nennen möchte. Man darf demnach davon ausgehen, dass Rober seit drei Jahren im Apple-Auto-Team an seinem Display-System tüftelt.





