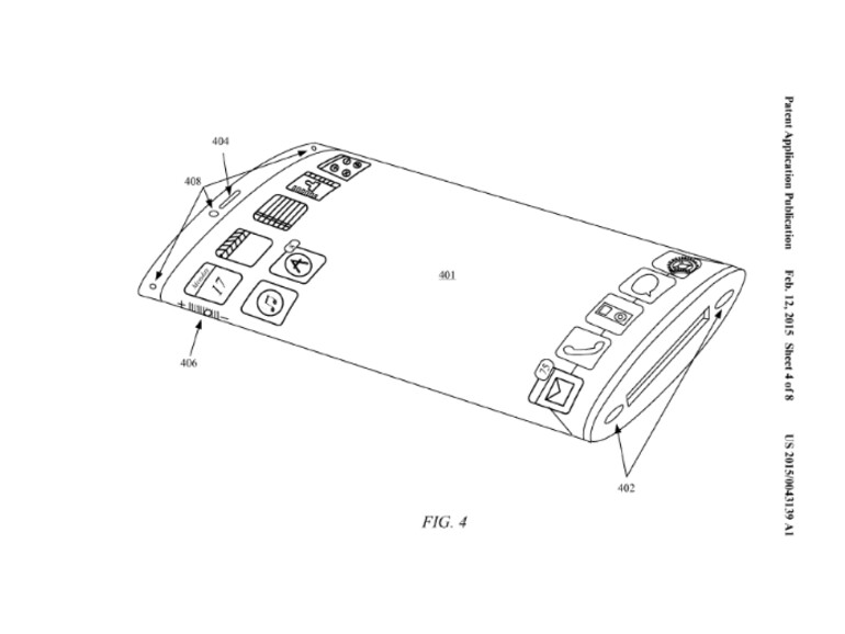
Apple hat einen neuen Patentantrag bei US-Patentamt eingereicht. Darin beschreibt das Unternehmen ein iPhone mit einem gebogenen Display. Die Biegung hört jedoch nicht an den Seitenkanten des Smartphones auf. Stattdessen biegt sich das Display einmal rund um das Smartphone.
Bezels, das sind die Blenden zwischen dem Displays und dem Rand eines Geräts, gehören damit der Vergangenheit an. Lediglich am oberen Rand des Smartphones hat Apple noch ein wenig Platz für die Ohrmuschel, die Frontkamera und zwei Sensoren gelassen. Die Vorderseite und die Rückseite sind ein einziges Display, das sich über die Seitenkanten zieht. Auf einer dieser Display-Seitenkanten hat Apple in den Patentzeichnungen den Lautstärkeregler angebracht. Am unteren Ende des Smartphones sitzen die Boxen und ein Anschluss, der verdächtig an den alten 30-Pin-Slot erinnert, den Apple mit der Einführung des iPhone 5 durch den Lightning-Anschluss ersetzt hat. Einen Home-Button besitzt das iPhone auf den Zeichnungen nicht mehr.
Zugang zur Hardware dieses iPhones mit Doppel-Display erhält man über das obere oder das untere Ende. Das Logic Board mit der Hardware und dem Akku kann den Patentzeichnungen einfach herausgezogen werden, nachdem es vom Display abgeklemmt wurde.
Apple meldet jedes Jahr mehrere hundert Patente beim US-amerikanischen Patentamt an. Einige werden relativ zeitnah umgesetzt, andere lassen einige Jahre auf sich warten und viele Ideen schaffen es nie, Teil eines Produktes zu werden. Ob Apple dieses Patent mit der Antragsnummer 14/523,480 jemals umsetzen wird, ist zu diesem Zeitpunkt leider reine Spekulation.










Diskutiere mit!
Hier kannst du den Artikel "Neues Apple-Patent: iPhone mit Rundum-Display" kommentieren. Melde dich einfach mit deinem maclife.de-Account an oder fülle die unten stehenden Felder aus.
vor gefühlten 5 Jahren habe ich diese Meldung schon mal gelesen (damals gab es auch nur den 30Pin-Connector....) - witzig das es sich immer um neue Patente handeln muss und es eine Meldung wert ist...
Ja - eine uralte Meldung - FAIL
das ist ein fake, bzw. kam die Meldung auf anderen Seiten bereits vor 2 Jahren, damals glaubwürdiger wie heute zumal 30 pin con., man man man und schon wieder die zeit auf maclife verschwendet
Hm, wenn man da einen Weinbrand rein füllen könnte, so als "Taschenwärmer"... dann macht das "Ding" auch Sinn!
;D
Aufgepasst!!
Apple arbeitet auch an einem iPad!!
Ganz bestimmt nicht! Das kauft kein Schwein!
Ganz schlechte Recherche und URALT und völlig irrelevant... andere Hersteller haben sowas schon realisiert und das gibt es schon auf dem Markt:
Das Ding heißt das Galaxy Note Edge :-) auch wenn ich es nicht nutze aber was neues ist das alles jedenfalls nicht. Als Anwender wüsste ich jetzt auch nicht, was ich mit nem gebogenen Display wie im Artikel angesprochen an Vorteil hätte??? Mehr Sonnen- und Lichtreflexionen und noch weniger lesbar??? Herr laß bei manchen Designern mal HIRN regnen!