
iPhones als 3D-Scannner sollen Kinder glücklich machen (Bild: Bild: Pete Slater/ CC BY NA 2.0/ Bildmontage: Maclife.de) 
Hasbro 3D-Scanner für das iPhone (Bild: US-Patent- und Markenamt) 
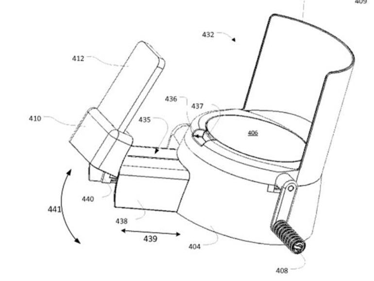
Hasbro 3D-Scanner für das iPhone (Bild: US-Patent- und Markenamt) 
Hasbro 3D-Scanner für das iPhone (Bild: US-Patent- und Markenamt) 
Hasbro 3D-Scanner für das iPhone (Bild: US-Patent- und Markenamt)
Spielwarenhersteller Hasbro hat in den USA einen Patentantrag eingereicht, das eine einfache Digitalisierungsplattform für das iPhone beschreibt. Das iPhone wird dazu in eine Halterung gesteckt, damit die Hauptkamera korrekt ausgerichtet ist und die Aufnahme nicht verwackelt.
Im Patentantrag beschreibt Hasbro weiterhin, dass der zu scannende Gegenstand dann auf eine kleine Platte gestellt hinter der sich eine Art Bluescreen befindet. Das soll sicherstellen, dass die Umgebung nicht auf das eingelesene Bild kommt und eine Freistellung einfach möglich ist. Die Platte wird dann mit einer kleinen Handkurbel gedreht. Das ließe sich sicherlich genauer und einfacher mit einem Motor erledigen, doch die Kinder sollen ja schließlich auch etwas zu tun bekommen.
Auf dem iPhone läuft parallel eine App von Hasbro, die kontinuierlich Aufnahmen macht, während der Gegenstand gedreht wird. Vermutlich filmt das iPhone während dieser Zeit und macht keine einzelnen Fotos, aber das beschreibt Hasbro nicht.
Was kann der Hasbro-Scanner?
Im Grunde genommen ist die Technik hinter dem Patentantrag nichts besonderes - schließlich will Hasbro nicht die App sondern die Plattform patentieren. Dennoch verbaut das anderen Anbietern genau diesen Lösungsweg.
Natürlich gibt es noch keinen Veröffentlichungstermin für Hasbros 3D-Scanner. Ein Patentantrag oder ein Patent ist nicht einmal eine Garantie dafür, dass der Antragsteller die Idee überhaupt in ein Produkt umsetzt.
Die eingescannten Aufnahmen können innerhalb der App dann zum Beispiel eingefärbt, in der Größe verändert oder mit anderen 3D-Gegenständen kombiniert werden. Denkbar ist die Verwendung der Gegenstände in Hasbro-Spielen. Wohlmöglich geht das Konzept aber noch viel weiter. Schließlich eignen sich die 3D-Modelle vor allem dazu, die Gegenstände mit einem 3D-Drucker auch wieder auszudrucken - und dieses Geschäftsidee dürfte sich Hasbro kaum entgehen lassen.
Bild: Pete Slater/ CC BY NA 2.0












