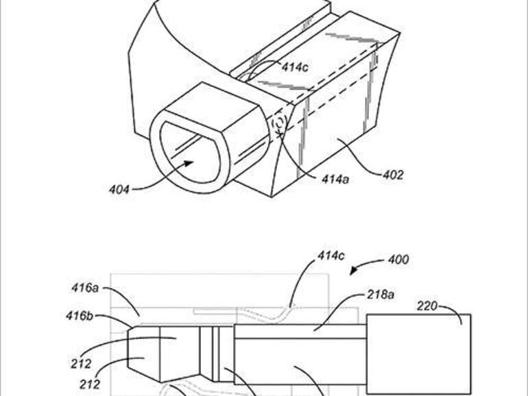
Im Vergleich zu den Vorgänger-Modellen, dem iPhone 6 und dem iPhone 6 Plus, haben die aktuellen Modelle, das iPhone 6s und das iPhone 6s Plus, um jeweils zwei Millimeter in der Tiefe zugenommen. Das könnte sich künftig jedoch wieder ändern, wie ein von Apple eingereichtes Kopfhöreranschluss-Patent zeigt. Das am Dienstag gemeldete Konzept mit der Nummer 9,142,925 für einen "D-förmigen Anschluss" ersetzt den bislang existierenden Standard und suggeriert, dass das iPhone wieder dünner wird, nachdem auch der Anschluss weniger Platz in Anspruch nimmt. Gleichzeitig bleibt die Funktionalität der 3,5 Millimeter-Klinke, wie man sie kennt, erhalten.
Der Anschluss trägt die Bezeichnung "D"-Form, da er an einer Seite gerade ist und der Rest eine Krümmung vorweist. Da es sich dabei allerdings um einen proprietären Anschluss handelt, passt dieser nur in die dafür vorgesehene Öffnung - und das wird demnach nur der Fall für das iPhone sein. Vermutlich wird Apple einen Adapter für den Standard 3,5 Millimeter-Klinke herausbringen, um auch Kopfhörer anderer Hersteller verwenden zu können. Ob damit Zusatzkosten verbunden sind, wird sich zeigen.
iPhones und iPads können nur so dünn sein wie die dickste verbaute Komponente. Beim iPhone 6 und iPhone 6 Plus fielen die Maße zwar sehr schlank aus, doch dafür ragt die Kameralinse, die letztendlich nicht mehr in das Gehäuse gepasst, hervor. Während man an der Kameratechnik so feilen kann, dass diese immer schlanker wird, lässt sich am 3,5 Millimeter-Standard der Klinke nichts ändern - außer man verwendet einen gänzlich neuen Anschluss-Typ. Und genau hier setzt Apple mit diesem Patent an.












Diskutiere mit!
Hier kannst du den Artikel "D-förmiger Kopfhörer-Anschluss für iPhone und iPad: So könnten die iOS-Geräte künftig schlanker werden" kommentieren. Melde dich einfach mit deinem maclife.de-Account an oder fülle die unten stehenden Felder aus.
Man könnte ganz einfach auch den Lightning Anschluss benutzen mit einem Adapter und den klinkenanschluss komplett wegfallen lassen ^^
Das iPhone 6s / 6s hat 0,2 mm in der Tiefe zugenommen, nicht 2 mm..
Genau, immer noch dünner werden, damit die Kamera noch mehr rausschauen kann :)